阿摩線上測驗
登入
首頁
>
【阿摩】未分類題庫
>
113年 - 113 全國高級中等學校學生技藝競賽考試_工業類:應用設計#138055
> 申論題
題組內容
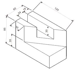
(1) 請依下圖右側之立體圖繪製出其三視圖並 標註尺寸(請以第三角法繪出) (20 分)。依 尺寸繪製三視圖並標註尺寸(第三角法) 。
(b) 尺寸標註
相關申論題
(a) 設計理念 :說明設計靈感,如何融入仿生創意與造形元素、產品功能或使用情境說明。
#565253
(b) 構想發展草圖:提供數個(至少 4 個)構想草圖,展示不同造形、構想、 特色與設計特色。
#565254
(c) 著色立體表現圖 :完成最終設計的彩色三維效果圖,需清楚呈現外觀與材質感。
#565255
二、 木製「房間門板」創意設計: 為因應不同居家室內裝潢風格設計,請參賽者提出二款房間門樣之提案,並以儀器 製圖及表現技法呈現設計創意。(a) 每案 10 分(a. 設計理念 4 分、b. 造形設計 4 分、c 色彩計畫 2 分)2 案=20 分。 (門板尺寸:寬度 80cm*高度 200cm ,請以 1:10 比例繪製)。
#565256
(a) 立體圖
#565257
(b) 尺寸標註
#565258
(a) 三視圖
#565259
50
#565252
49
#565251
48
#565250
相關試卷
115年 - 115 中央警察大學_警正班第 3 5 期招生考試試題:刑法與刑事訴訟法#137830
115年 · #137830
114年 - 114 全國高級中等學校學生技藝競賽考試_工業類:電腦軟體設計#138006
114年 · #138006
114年 - 114 全國高級中等學校學生技藝競賽考試_工業類:數位電子#137984
114年 · #137984
114年 - 114 新竹縣國民中學技藝教育競賽題庫:勞權教育#137975
114年 · #137975
114年 - 114 全國高級中等學校學生技藝競賽考試_工業類:電腦輔助機械製圖#137974
114年 · #137974
114年 - 114 全國高級中等學校學生技藝競賽考試_工業類:冷凍空調#137972
114年 · #137972
114年 - 114 全國高級中等學校學生技藝競賽考試_工業類:應用設計#137971
114年 · #137971
114年 - 114 全國高級中等學校學生技藝競賽考試_工業類:電腦修護#137970
114年 · #137970
114年 - 114 全國高級中等學校工業類科學生技藝競賽試題:汽車修護#137959
114年 · #137959
114年 - 114 中學工科技藝競賽試題:室內配線#137958
114年 · #137958