阿摩線上測驗 登入

試題詳解

試卷:97年 - 97 經濟部所屬事業機構_新進職員甄試試題_電機、儀電:電路學#137022 | 科目:國營事業◆1.電路學 2.電子學

試卷資訊

試卷名稱:97年 - 97 經濟部所屬事業機構_新進職員甄試試題_電機、儀電:電路學#137022

年份:97年

科目:國營事業◆1.電路學 2.電子學

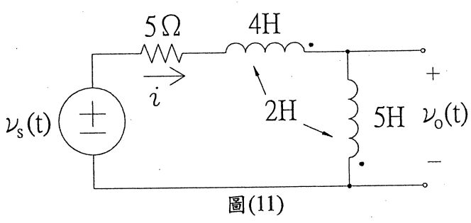
34.試求i(t)的穩態:

(A) i = 0.171 cos(3t +63°) A
(B) i= 0.151cos(3t +57°) A
(C) i =0.131cos(3t +52°) A
(D) i = 0.111 cos(3t +47°) А 

正確答案:登入後查看