所屬科目:輪機工程(概要)(包括推進裝置、輔機與輪機英文)
1. 船舶推進軸系統中,就軸系示意圖而言,隔艙填料函(Stuffing box)應為下列何者? (A) (3) (B) (4) (C) (5) (D) (6)
2. 船舶推進軸系統中,就軸系示意圖而言,中間軸(Intermediate shaft)應為下列何者? (A) (3) (B) (4) (C) (5) (D) (6)
3. 於船舶推進軸系統中,就艉軸管潤滑系統示意圖而言,艉軸管(Stern Tube)應為下列何者? (A) (1) (B) (2) (C) (3) (D) (4)
4. 於船舶推進軸系統中,就艉軸管潤滑系統示意圖而言,艉軸 (Stern Shaft)應為下列何者? (A) (5) (B) (6) (C) (7) (D) (8)
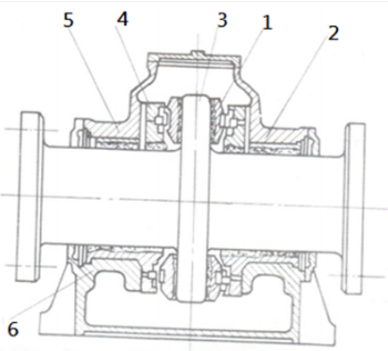
8. 船舶推進軸系統中,就下圖而言(6)應為下列何者? (A) 前軸承 (B) 後軸承 (C) 艉軸管 (D) 推力軸承
11. 船舶推進軸系統中,就下圖而言(3)應為下列何者? (A) 推力環 (B) 推力塊 (C) 固定銷 (D) 軸承座
24. 船舶推進軸系統中,就下圖而言(4)應為下列何者? (A) 螺葉(blade) (B) 螺毂(boss) (C) 葉根(blade root) (D) 葉尖(blade tip)
25. 船舶推進軸系統中無鍵式(keyless)推進器,就下圖而言其止回螺栓,應為下列何者? (A) (1) (B) (2) (C) (3) (D) (4)
26. 船舶推進軸系統中,就對Z型推進裝置(Z Propulsion System)示意圖而言,聯軸器 (Coupling)應為下列何者? (A) (1) (B) (2) (C) (3) (D) (4)
27. 於船舶推進軸系統中,就雙級同心式減速齒輪箱示意圖而言,輸入軸(Input Shaft)應為下列 何者? (A) (5) (B) (6) (C) (7) (D) (8)