所屬科目:輪機工程(概要)(包括推進裝置、輔機與輪機英文)
1. 船舶推進軸系統中,就推力軸示意圖而言(3)應為下列何者? (A) 連接法蘭 (B) 推力環 (C) 油環 (D) 軸體
2. 船舶推進軸系統中,就莢式推進器(Pod Thruster)示意圖而言,電纜滑環(Slip Ring Unit)應為 下列何者? (A) (9) (B) (4) (C) (3) (D) (8)
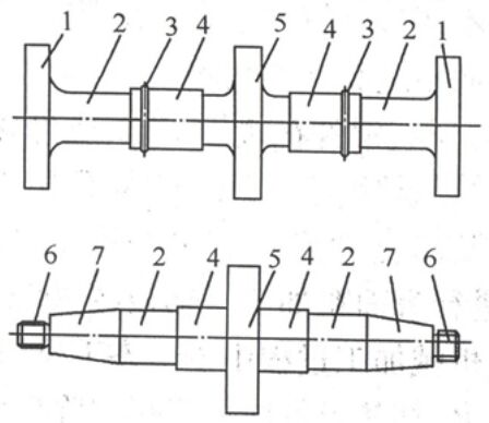
14. 船舶推進軸系統中,就下圖而言(6)應為下列何者? (A) 螺旋槳 (B) 艉軸管 (C) 艉軸 (D) 中間軸
19. 船舶推進軸系統中,就下圖而言(2)應為下列何者?(A) 中間軸 (B) 中間軸承 (C) 艉軸 (D) 艉軸承