阿摩線上測驗
登入
首頁
>
空氣污染物檢驗與噪音測定
> 111年 - 111 地方政府特種考試_三等_環境檢驗:空氣污染物檢驗與噪音測定#112351
111年 - 111 地方政府特種考試_三等_環境檢驗:空氣污染物檢驗與噪音測定#112351
科目:
空氣污染物檢驗與噪音測定 |
年份:
111年 |
選擇題數:
0 |
申論題數:
7
試卷資訊
所屬科目:
空氣污染物檢驗與噪音測定
選擇題 (0)
申論題 (7)
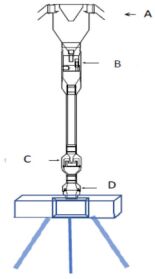
一、大氣細懸浮微粒(PM2.5)採樣器示意圖如下:請說明各部位(A、B、C、D) 名稱與功能。(25 分)
二、大氣揮發性有機氣體(VOC)採樣可使用四種方法,請分別說明四種方 法及其原理。(25 分)
(一)等速抽引之原理、目的。 (15 分)
(二)抽氣速度太大,可能產生誤差為何?(5 分)
(三)抽氣速度太低,可能產生誤差為何?(5 分)
(一)劃分噪音管制區應考量因素。(5 分)
(二)噪音管制區主要以維護安寧土地為目的,四類噪音管制區之土地使用 特性。(20 分)
相關試卷
114年 - 114 地方政府公務特種考試_三等_環境檢驗:空氣污染物檢驗與噪音測定#134703
114年 · #134703
114年 - 114 公務升官等考試_薦任_環境檢驗:空氣污染物檢驗與噪音測定#133179
114年 · #133179
114年 - 114 高等考試_三級_環境檢驗:空氣污染物檢驗與噪音測定#128426
114年 · #128426
113年 - 113 高等考試_三級_環境檢驗:空氣污染物檢驗與噪音測定#121188
113年 · #121188
112年 - 112 地方政府特種考試_三等_環境檢驗:空氣污染物檢驗與噪音測定#118105
112年 · #118105
112年 - 112 公務升官等考試_薦任_環境檢驗:空氣污染物檢驗與噪音測定#117090
112年 · #117090
112年 - 112 高等考試_三級_環境檢驗:空氣污染物檢驗與噪音測定#115416
112年 · #115416
111年 - 111 高等考試_三級_環境檢驗:空氣污染物檢驗與噪音測定#109259
111年 · #109259
110年 - 110 地方政府特種考試_三等_環境檢驗:空氣污染物檢驗與噪音測定#104606
110年 · #104606
110年 - 110 公務升官等考試_薦任_環境檢驗:空氣污染物檢驗與噪音測定#103469
110年 · #103469