所屬科目:中油◆機械常識、機械力學
1. 下列何者為中華民國國家標準材料編號?(A) AISI1030 (B) S45C (C) SAE3145 (D) SKD50
2. 下列何者是塗層表面處理的有機塗層?(A)水泥塗層 (B)玻璃質琺瑯塗層 (C)化學轉化塗層 (D)油漆
3. 下列何者為非破壞性試驗法?(A)放射線探傷試驗 (B)拉力試驗 (C)金相試驗 (D)潛變試驗
4. 有一組滑輪之機械利益為8,另一組為12,若兩組滑輪組合使用時,其機械利益為?(A) 20 (B) 48 (C) 96 (D) 128
5.下列何者為非切削性加工?(A)鉸孔 (B)沖壓 (C)放電加工 (D)珠擊法
6. 使用銑床在一塊中碳鋼的材質上,進行較高精度的孔加工,其正確的步驟為?(A)鑽孔→搪孔→鉸孔(B)鉸孔→鑽孔→搪孔(C)鑽孔→鉸孔→搪孔(D)鉸孔→搪孔→鑽孔
7. 有關材料性質的改變,下列敘述哪個是正確的?(A)淬火可以增加材料的硬度(B)冷作不會改變材料性質(C)正常化可以增加材料的硬度(D)退火能增加材料的硬度
8. 有一平板凸輪,其基圓直徑為150mm,最大半徑為125mm,請問凸輪旋轉一周時,從動元件的總升高距離為? (A) 275mm (B) 150mm (C) 125mm (D) 50mm
9. 下列哪個是「品質保證」的品管簡稱?(A) QC (B) TQC (C) QA (D) QCC
10. 鑄造流道系統中,離澆口最遠處的是?(A)溢流口 (B)通氣口 (C)冒口 (D)進模口
11. 為防止氣焊乙炔氣瓶因為超過1大氣壓會呈現不安定現象,恐有爆炸之虞,通常會在氣瓶中添加? (A)丁二醇 (B)乙醚 (C)甲醇 (D)丙酮
12. 車床使用兩頂心間車削的主要目的是? (A)工件不適合使用車床夾頭 (B)工作物細長 (C)真圓度 (D)同心度
13. 惰氣鎢電極電弧銲接代號為:(A) MIG (B) PAW (C) TIG (D) SAW
14. 在沖壓模具中的同一個衝壓位置,可以同時完成兩個或以上的加工動作者,稱之為:(A)級進沖模 (B)複合沖模 (C)彎型沖模 (D)連續沖模
15. 兩薄鐵板以電阻進行點焊,其電壓為10伏特、電流為3,000安培,假設焊接部位需達600 焦耳,請問通電時間需幾秒? (A) 0.02秒 (B) 0.01秒 (C) 1秒 (D) 0.5秒
16. 哪種頂出方式最適合環狀薄壁型塑膠射出成形製品?(A)頂出針 (B)頂出板 (C)頂出套筒 (D)澆道回拉
17. 有一片砂輪的規格為WA-46-K-5-B-1A- 400 × 25 × 20,請問其中K代表?(A)磨料材質 (B)結合度 (C)組織 (D)砂輪外型
18. 電弧熔接機熔接的作用是屬於?(A)低電壓高電流 (B)高電壓高電流 (C)高電壓低電流 (D)高電壓定電流
19. 一均質桿件受到7,200N之軸向拉力,若桿件本身之重量不計,且其容許拉應力為360 MPa,則桿件之斷面積最少需為多少mm2 ? (A) 20 (B) 40 (C) 30 (D) 60
20. 齒輪箱由一組大小不一的正齒輪組合,必需要有相同的什麼才能動作?(A)軸中心距離 (B)周節 (C)徑節 (D)節圓直徑
21. 請問銼刀粗細規格係依據?(A)銼刀總長度(B)銼刀面上25.4 mm長度的齒數(C)銼刀面橫向直線寬度上齒數(D)銼刀面總寬度
22. 各式連結器中,虎克接頭(又稱為萬向接頭),其接頭結構係利用哪種原理?(A)球體 (B)磨擦 (C)槓桿 (D)螺旋
23. 汽車前輪的轉向機構屬於下列哪種?(A)平行相等曲柄機構 (B)不平行相等曲柄機構(C)等腰連桿機構 (D)肘節機構
24. 壓鑄模具與塑膠模具兩者除了成型材料不同之外,兩種模具在下列哪個部位設計的結構上差別最大? (A)頂出系統 (B)合模系統 (C)加熱或冷卻系統 (D)澆口系統
25. 下列熱固性塑膠射出成形的敘述,哪個是正確的?(A)熱固性塑料成品可加熱再製(B)塑料在塑料管內加熱再加壓射入模穴(C)塑料進入模穴後再加熱成形(D)熱固性塑料射出模具沒有縮水率設計
26. 一飛輪以600rpm等角速度旋轉,則經過10秒,其角位移為多少?(A) 100rad (B) 200rad (C) 100πrad (D) 200πrad
27. 下列選項中,哪一個選項為力的三要素?(A)大小、方向、作用點 (B)大小、方向、空間(C)大小、方向、時間 (D)大小、方向、質量
28. 在力學研究中,有關剛體(rigid body)之定義描述,下列何者正確?(A)受力作用不會產生移動的物體(B)受力作用後,物體內部任二點的距離保持不變者(C)鋼製物體(D)受力作用不會產生轉動的物體
29. 若力的作用線與轉軸相交時,則該力對轉軸作用的力矩為何?(A)與力臂成正比 (B)與力大小成正比(C)視轉動方向而定 (D)零
30. 下列有關重心、形心與質心的描述,何者錯誤?(A)物體重力之合力的作用線一定會通過該物體的重心(B)物體的質心位置有可能在該物體的外部(C)對所有物體而言,重心、形心與質心位置會在同一點(D)物體的形心位置有可能在該物體的外部
31. 摩擦力與下列何者無關?(A)接觸面積 (B)正壓力 (C)作用力 (D)摩擦係數
32. 自由落體屬於下列何種運動?(A)等速度運動 (B)變速度運動 (C)等角速度運動 (D)變角速度運動
33. 推鉛球比賽中,若忽略空氣阻力,則鉛球拋出在空中飛行時,其水平方向作何種運動?(A)等速度運動 (B)等加速度運動 (C)等減速度運動 (D)變速度運動
34. 若一物體的速度增為原來之3倍,則其動能增為原來之幾倍?(A) 1/3倍 (B) 3倍 (C) 6倍 (D) 9倍
35. 長度與截面積皆相同的鐵桿和鋁桿,受到同樣大小的軸向壓力作用,則兩桿具有相同的(A)變形量 (B)壓應變 (C)壓應力 (D)剪應變
36. 懸臂樑的兩端點分別為A點和B點,長度5m,A端固定在牆上,在自由端B處受向下300N 之集中負荷作用,若不計樑重,則樑中點處所受之剪力為多少N? (A) 100 (B) 200 (C) 300 (D) 400
37. 二支長度相等且重量相同之實心圓桿與空心圓桿,今以此二桿作為樑使用時,哪一種樑能承受較大的強度 (A)實心圓桿 (B)空心圓桿 (C)相等 (D)無法比較
38. 有一簡支樑,其剪力圖為斜直線,則該樑的彎矩圖為?(A)水平線 (B)斜直線 (C)二次曲線 (D)三次曲線
39. 下列何種樑不屬於靜定樑(statically determinate beam)?(A)懸臂樑 (B)簡支樑 (C)外伸樑 (D)固定樑
40. 傳動軸受扭矩作用而產生之應力為何?(A)剪應力 (B)壓應力 (C)彎曲應力 (D)張應力
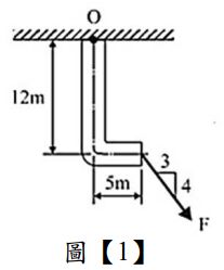
41. 如圖【1】所示,試求F=200N之力對O點之力矩為何?(A) 1000N-m,順時鐘(B) 2400N-m,逆時鐘(C) 640N-m,順時鐘(D) 640N-m,逆時鐘
42. 摩擦力之方向與(A)物體運動方向平行且相同 (B)物體運動方向平行且相反(C)物體運動方向垂直 (D)物體運動方向無關聯
43. 使用相同材質鋼材,製作長度、重量均相同的鋼樑,樑的截面積製成下列何者,所能承受之彎矩強度值最大? (A) (B) (C) (D)
44. 如圖【2】所示,水平外力F作用於兩個緊鄰的物體A與B,已知物體A質量20kg,物體 B質量30kg,物體A及物體B與地面間之靜摩擦係數分別為0.25及0.2,則可使得兩物體即將開始產生滑動的最小外力F為多少N?(設重力加速度為10m/sec2 ) (A) 100 (B) 110 (C) 120 (D) 130
45. 如圖【3】所示,若將F=100N之力分解成水平分力及垂直分力,則其垂直分力應為?(A) 50N向上(B) 50N向下(C) 50N向上(D) 50N向下
46. 使用軸傳遞固定的功率,若軸的轉速減半,則其所承受之扭矩變為原來的幾倍?(A) 0.5倍 (B) 1倍 (C) 2倍 (D) 3倍
47. 樑承受下列哪一種負荷,在繪製樑的剪力圖時不會影響剪力圖形?(A)集中載重 (B)均勻載重 (C)均變載重 (D)力偶
48. 關於摩擦係數,一般而言以下列何者最大?(A)滾動摩擦係數 (B)滑動之動摩擦係數(C)滑動之靜摩擦係數 (D)無法比較
49. 一均質之細鐵線,彎成半徑2m之半圓弧,則其形心至圓心之距離為多少m?(A) 4/π (B) 6/π (C) 8/π (D) 12/π
50. 一長度為10m之簡支樑,其中央承受一集中荷重100N作用,則此樑所發生之最大彎矩為?(A) 0N-m (B) 250N-m (C) 500N-m (D) 1000N-m
1.將材料加熱至材料本身的_________再結晶溫度以上,形成塑性狀態後再施以外力使材料成型,稱之為熱作或高溫加工。
2. 大小相等,方向相反,且不作用在同一直線上的平行力,稱之為_________ ,其合力為零。
3. 機構運動對中,兩機件間同時做迴轉及直線運動者,稱為_________對。
4. 軟焊與硬焊屬於焊接中的鑞接,兩者以溫度區隔,其溫度為_________°C。
5. 兩齒輪嚙合,齒輪模數為2.0mm,A齒輪齒數為90齒,B齒輪為50齒,兩齒輪之中心距離為_________mm。
6. 在力系中,合力對某點(或某軸)之力矩,等於力系中各分力對該點(或該軸)之力矩的代數和,稱為_________原理。
7. 設鋼材的彈性係數(Modulus of Elasticity)為250GPa,蒲松氏比v=0.25,則其剪力彈性係數(Shear Modulus of Elasticity)為_________GPa。
8. 某一平面其面積為100mm²,設x軸通過此面積之形心,且其慣性矩Ix=2000mm⁴,若s軸和X軸平行且相距5mm,試求該平面對S軸之慣性矩Is=_________mm⁴。
9. 如圖【4】所示,梯子重100N,梯與地板之靜摩擦係數µs=0.25,梯與牆之靜摩擦係數µs=0.2,若欲阻止梯子開始向左側下滑動,試求最小作用力P=_________N。(請以四捨五入計算至小數點後1位)
10. 如圖【5】所示之滑輪系統,設繩索、滑輪之重量與摩擦均忽略不計,重力加速度g=10m/sec²,若所懸掛之A物體重量為10N,B物體重量為20N,試求B物體上方之繩的張力=__N。(請以四捨五入計算至小數點後2位)