阿摩線上測驗
登入
首頁
>
技檢◆視覺傳達設計-包裝設計 PC-乙級
> 115年 - 20103 視覺傳達設計-包裝設計 PC 乙級 工作項目 01:視覺傳達設計-包裝設計 PC 51-100(2026/01/06 更新)#136339
115年 - 20103 視覺傳達設計-包裝設計 PC 乙級 工作項目 01:視覺傳達設計-包裝設計 PC 51-100(2026/01/06 更新)#136339
科目:
技檢◆視覺傳達設計-包裝設計 PC-乙級 |
年份:
115年 |
選擇題數:
50 |
申論題數:
0
試卷資訊
所屬科目:
技檢◆視覺傳達設計-包裝設計 PC-乙級
選擇題 (50)
51. 針對塑料常用之添加劑敘述,何者正確 (A)固化劑:提高樹脂可塑性 (B)填充劑:改善塑料的使用性能,一般用量為 50-70% (C)潤滑劑:常用的有脂肪酸皂類、脂肪酯類、脂肪醇類、石蠟等 (D)穩定劑:為提高樹脂之抗氧化性能 。
52. 玻璃紙為常見的軟包裝材料,其特性為 (A)抗靜電 (B)防潮性佳 (C)透明度低 (D)耐高溫 。
53. 進行鋁罐包裝印刷時,應注意 (A)印刷色序安排應先深後淺 (B)網版印刷應以遮蓋力較小的油墨先印 (C)印金色圖文前須先印底色 (D)印刷前以白墨印底色 。
54. 我國公告綠色包裝設計之規定,包裝層數應符合下列何者 (A)化妝品包裝為三層以下 (B)電腦程式著作光碟為三層以下 (C)酒類包裝為三層以下 (D)糕餅包裝為四層以下 。
55. 政府為限制產品過度包裝,針對糕餅的包裝設計尺寸(單位 mm)進行規範,下列選項何者符合包裝尺寸規定 (A)額定包裝體積:3,508,920;包裝體積:6,664,000 (B)額定包裝體積:4,525,325;包裝體積:5,352,000 (C)額定包裝體積:4,200,300;包裝體積:6,400,200 (D)額定包裝體積:11,508,480;包裝體積:7,817,216 。
56. 軟包裝的印刷使用水性油墨,其溶劑不含 (A)醇類 (B)脂類 (C)甲苯 (D)水 。
57. 針對包裝容器回收標誌之標示,下列何者符合相關規定 (A)回收標誌最小面積不得低於該包裝容器表面積之百分之五 (B)回收標誌顏色限制為綠色(C)塑膠材質回收辨識碼一律標示 1 號代碼 (D)玻璃容器回收標誌為 。
58. 請問何種瓦楞紙箱單位長度內的瓦楞數目最多,可承受較大的平面壓力(A)B 瓦紙箱 (B)A 瓦紙箱 (C)E 瓦紙箱 (D)C 瓦紙箱 。
59. 以垂直方向施壓瓦楞紙板,施壓過程中紙板所能承受的最大力即為紙箱的 (A)防破裂強度 (B)邊壓強度 (C)堆壓強度 (D)抗壓強度 。
60. 蘋果禮盒內包裝使用保麗龍網套作為緩衝材料襯墊,其內包裝方式為何種緩衝包裝分類 (A)部分緩衝法 (B)全面緩衝法 (C)懸浮式緩衝法 (D)分散式緩衝法 。
61. 基於優良之工業包裝,主要考慮因素為下列何者 (A)包裝獨創性 (B)包裝標示性 (C)展示效果 (D)包裝視覺性 。
62. 根據國際紙箱標準規定,箱型代號前兩位數字表示箱型的種類,以下代碼何者表示套合型紙箱 (A)01 (B)02 (C)03 (D)04 。
63. 依據洗髮精瓶身標示塑膠材質回收辨識碼
,此容器之塑膠材質為 (A)聚乙烯對苯二甲酸酯(PET) (B)高密度聚乙烯(HDPE) (C)聚氯乙烯(PVC) (D)聚丙烯(PP) 。
64. 以玻璃材質進行商品包裝設計,下列何者為正確之玻璃印刷概念 (A)玻璃表面平滑、堅硬,因此玻璃印刷無需做表面處理 (B)玻璃印刷可採用網版印刷、噴墨和轉移印刷方式 (C)玻璃為有機材料,印刷後進行燒結處理將破壞油墨耐久性與附著性 (D)若玻璃製品使用網版印刷,則印刷後無需進行燒製作業 。
65. 紙張的兩面性對印刷有何影響 (A)紙張正面(毯面)較粗糙,油墨附著效果好 (B)燙印加工於紙的兩面,使其兩面性差別較小 (C)紙張反面(網面)印刷中不易發生拉毛現象 (D)紙張正面平滑度較背面高,在印刷中表面較不易堆粉 。
66. 下列何者符合包裝機能之經濟性 (A)包裝過程自動化 (B)包裝設計符合公司形象 (C)包裝註明詳細商品資訊 (D)包裝設計造型獨特 。
67. 根據「浪漫甜蜜」之糖果品牌形象定位,下列針對包裝設計之敘述,何者較為適切 (A)以粉色系色彩建立糖果商品之包裝色彩印象 (B)三層以上之多層次包裝設計,符合公司形象定位與包裝層數規範 (C)使用插入式紙盒包裝結構,兼具堅固與展示效用 (D)包裝材質選用板紙,平整度高、手感較卡紙光滑,印刷速度較快 。
68. 高單價化妝品包裝盒表面上,印有「紋路樣式」之玻璃光澤般半透明薄膜,其上光方式為 (A)PVC 上光 (B)霧面 PP 上光 (C)亮面 PP 上光 (D)雷射膜上光 。
69. 針對包裝盒設計之印刷與後加工相關知識,下列敘述何者正確 (A)為求包裝印刷切口精準,印刷完稿不預留 3mm 出血 (B)拼版時,兩包裝盒結構圖邊線不重疊,節省成本且避免誤差產生 (C)紙盒結構刀模圖與包裝結構設計圖一致,其結構線不得有任何誤差 (D)包裝盒使用平版與凸版印刷效果相同,因此設計無須針對印刷方式製稿 。
70. 巧克力包裝盒使用燙金效果能提高商品形象,針對此印刷加工技術,下列敘述何者正確 (A)燙金又稱燙電化鋁 (B)燙金一次燙印無大小面積限制,不論燙金圖案大小,設計成本皆相同 (C)燙金與金色油墨印刷皆為印刷後加工程序 (D)燙金適合大量印製需求,印金則適合少量印製需求 。
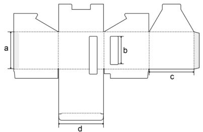
71. 下圖包裝展開圖標示中,何處為「舌片(插舌)」結構設計
(A)a (B)b (C)c (D)d 。
72. 下列包裝展開圖所示,何者包裝盒型不需糊盒 (A)
(B)
(C)
(D)
。
73. 包裝盒身展開後為整張斬型紙張,不需糊盒、節省的刀模成本,利用結構的包裝盒設計,稱之 (A)天地盒 (B)糊底盒 (C)一體成型盒 (D)上下插口盒 。
74. 北宋年間濟南劉家功夫針鋪的包裝紙上以何種圖案為記 (A)公雞 (B)獵犬(C)白兔 (D)黃牛 。
75. 1856 年取得壓製瓦楞原紙材料專利的是 (A)英國的艾倫 (B)美國的愛伯特‧約翰 (C)英國的奧爾加‧朗 (D)英國的羅伯特 。
76. 1871 年首先將瓦楞紙用作包裝材料的是 (A)英國的艾倫 (B)美國的愛伯特‧約翰 (C)英國的奧爾加‧朗 (D)英國的羅伯特 。
77. 1874 年把瓦楞原紙和面紙黏合在一起製成瓦楞紙板的是 (A)英國的艾倫(B)美國的愛伯特‧約翰 (C)英國的奧爾加‧朗 (D)英國的羅伯特 。
78. 首先將瓦楞紙板製成瓦楞紙箱的是 (A)英國的艾倫 (B)美國的愛伯特‧約翰 (C)英國的奧爾加‧朗 (D)英國的羅伯特 。
79. 在進行個包裝紙盒設計時,首先要確認哪一種尺寸為設計依據 (A)內徑尺寸 (B)外徑尺寸 (C)設計尺寸 (D)外包裝尺寸 。
80. 在進行運輸包裝設計時,首先要確認個包裝紙盒的哪一種尺寸為設計依據 (A)內徑尺寸 (B)外徑尺寸 (C)設計尺寸 (D)外包裝尺寸 。
81. 下列哪種包裝紙盒結構在拼版印刷時最省成本 (A)飛機式 (B)反插式 (C)插鎖式 (D)鎖底式 。
82. 反插式包裝紙盒結構的蝴蝶片的高度為何 (A)盒寬 (B)1/2 盒寬 (C)1/2 盒寬+1/2 插舌 (D)1/2 盒寬+插舌 。
83. 包裝紙盒結構的黏貼邊採用膠帶黏合的繪圖符號為何 (A)
(B)
(C)
(D)
。
84. 包裝紙盒結構的黏貼邊採用黏合劑黏合的繪圖符號為何 (A)
(B)
(C)
(D)
。
85. 包裝紙盒結構的黏貼邊採用 U 型釘釘合的繪圖符號為何 (A)
(B)
(C)
(D)
。
86. 包裝紙盒結構的內折壓痕線繪圖符號為何 (A)
(B)
(C)
(D)
。
87. 包裝紙盒結構的外折壓痕線繪圖符號為何 (A)
(B)
(C)
(D)
。
88. 包裝紙盒結構的外折切痕線繪圖符號為何 (A)
(B)
(C)
(D)
。
89. 包裝紙盒結構的輪廓裁切線繪圖符號為何 (A)
(B)
(C)
(D)
。
90. 對於包裝的配色,應根據下列何種因素為優先 (A)設計師的愛好 (B)競爭品牌的需求 (C)不同性質的商品 (D)包裝的美觀 。
91. 包裝技術的選擇應遵循科學、經濟、牢固、美觀和 (A)高技術 (B)適用 (C)標準化 (D)一次性 的原則。
92. 下列哪一項不是模切(軋型)主要完成的工作 (A)壓痕 (B)切斷 (C)裂線 (D)打圓孔 。
93. 製作刀模時,兩片切刀的距離,至少要間隔多少以上為宜 (A)1mm (B)2mm (C)3mm (D)4mm 。
94. 在一般中小型印刷廠中,標籤印刷的方式通常採用哪一種 (A)平版 (B)凸版 (C)凹版 (D)網版 。
95. 根據美國百分百再生紙板聯盟估計,每公噸的紙板轉變為 100%的再生紙版,相當於挽救幾棵樹 (A)1 棵 (B)7 棵 (C)14 棵 (D)28 棵 。
96. 大豆油墨是比較環保的油墨,它的顏色比石油油墨深,所需油墨量比較少,印刷時油墨網點的擴散範圍比石油油墨高出多少 (A)5%~8% (B)10%~13% (C)15%~20% (D)25%~30% 。
97. 除了大豆油墨以外,下列何種植物亦可用來提煉環保油墨 (A)玉米 (B)小麥 (C)花生 (D)馬鈴薯 。
98. 下圖三角形回收標誌中間的數字代表甚麼
(A)包裝回收的容易度 (B)包裝回收的優先順序 (C)耐熱的程度 (D)包裝的材質 。
99. 一般塑膠包裝上都有三角形回收標誌,下列何者對環境最無害 (A)
(B)
(C)
(D)
。
100. 紙張是最普遍被使用的包裝材料之一,下列何種紙材不含木材,是屬於永續性包裝材料 (A)玉米紙 (B)晶鑽紙 (C)石頭紙 (D)甘蔗紙 。
申論題 (0)
相關試卷
115年 - 20103 視覺傳達設計-包裝設計 PC 乙級 工作項目 01:視覺傳達設計-包裝設計 PC 151-187(2026/01/06 更新)#136341
115年 · #136341
115年 - 20103 視覺傳達設計-包裝設計 PC 乙級 工作項目 01:視覺傳達設計-包裝設計 PC 101-150(2026/01/06 更新)#136340
115年 · #136340
115年 - 20103 視覺傳達設計-包裝設計 PC 乙級 工作項目 01:視覺傳達設計-包裝設計 PC 1-50(2026/01/06 更新)#136338
115年 · #136338
113年 - 113-3 全國技術士技能檢定學科_乙級:20103 視覺傳達設計─包裝設計 PC#133417
113年 · #133417
110年 - 110-3 全國技術士技能檢定學科_乙級:20103視覺傳達設計-包裝設計PC#105065
110年 · #105065
109年 - 109-3 全國技術士技能檢定學科_乙級:20103視覺傳達設計-包裝設計PC#93400
109年 · #93400
108年 - 108-3 技術士技能檢定學科測試試題-乙級:20103視覺傳達設計-包裝設計 PC#80911
108年 · #80911
103年 - 視覺傳達設計-(包裝設計)PC乙級-201032#24231
103年 · #24231
102年 - 102年視覺傳達設計-(包裝設計)PC乙級--201032#24498
102年 · #24498
102年 - 視覺傳達設計-(包裝設計)PC乙級--201032#24420
102年 · #24420