阿摩線上測驗
登入
首頁
>
機械製造(含機械材料)
> 96年 - 96 關務特種考試_三等_機械工程:機械製造學(包括機械材料)#34451
96年 - 96 關務特種考試_三等_機械工程:機械製造學(包括機械材料)#34451
科目:
機械製造(含機械材料) |
年份:
96年 |
選擇題數:
0 |
申論題數:
5
試卷資訊
所屬科目:
機械製造(含機械材料)
選擇題 (0)
申論題 (5)
一、試敘述淨形鍛造(near net-shape forging)為何受到重視之原因。(20 分)
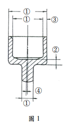
【已刪除】二、試說明如圖 1 所示之零件,影響標示①、②、③、④處之精度的因素。(20 分)
三、於 CIM 技術中,試敘述何謂 AGV、CACE、CAPP 及 VLSI。(20 分)
四、試敘述冷加工製程(cold working processes)之優缺點。(20 分)
五、試列舉五項鋼材之熱處理方法。(20 分)
相關試卷
114年 - 114 專技高考_機械工程技師:機械製造#133571
114年 · #133571
114年 - 114 公務升官等考試_薦任_機械工程:機械製造學(包括機械材料)#133173
114年 · #133173
114年 - 114 臺灣港務股份有限公司_新進從業人員甄試_機械:機械製造及機械材料#126740
114年 · #126740
114年 - 114 關務特種考試_三等_機械工程(選試英文):機械製造學(包括機械材料)#126600
114年 · #126600
113年 - 113 臺灣菸酒股份有限公司_從業評價職位人員:機械材料#132350
113年 · #132350
113年 - 113 中央印製廠_新進人員甄試試題_機械技術員:機械製造#123107
113年 · #123107
113年 - 113 關務特種考試_三等_機械工程(選試英文):機械製造學(包括機械材料)#119463
113年 · #119463
113年 - 113 臺灣港務股份有限公司_新進從業人員甄試_師級_機械:機械製造及機械材料#118825
113年 · #118825
112年 - 112 臺灣菸酒股份有限公司_從業職員及從業評價職位人員甄試試題_從業評價職位人員:機械材料#123494
112年 · #123494
112年 - 112 臺灣菸酒股份有限公司_從業評價職位人員甄試試題_從業評價職位人員/機械:機械製造與機械材料#123481
112年 · #123481