試卷名稱:115年 - 21300 陶瓷手拉坯 丙級 工作項目 02:機具、工具之使用與維護 1-50(2026/01/09 更新)#136671
年份:115年
科目:技檢◆陶瓷手拉坯-丙級
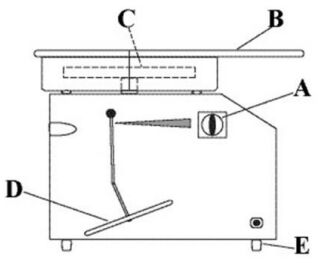
(A)工作台面 (B)集泥盤 (C)轉盤 (D)機台台面 。