所屬科目:技檢◆陶瓷手拉坯-丙級
(A)壓土蓋板 (B)入土口 (C)真空室(D)攪拌軸 。
(A)壓土蓋板 (B)入土口 (C)真空室(D)真空錶 。
(A)壓土蓋板 (B)入土口 (C)真空室(D)變速箱 。
(A)擠出口 (B)入土口 (C)排水口 (D)出氣口 。
(A)壓土蓋板 (B)入土平台 (C)置土架 (D)出土平台 。
(A)A (B)E (C)F (D)G 。
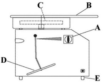
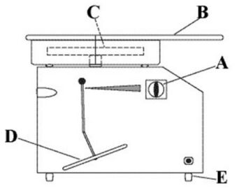
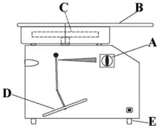
(A)開關與轉向切換 (B)集泥盤 (C)轉盤 (D)速度控制器 。
(A)工作台面 (B)集泥盤 (C)轉盤 (D)機台台面 。
(A)A (B)B (C)C (D)D 。
(A)A、B (B)B、C (C)C、D (D)A、D 。