阿摩線上測驗
登入
首頁
>
紡織機械學
>
99年 - 99 關務特種考試_三等_紡織工程:紡織機械學(包括應用原理、設備流程)#47019
> 申論題
題組內容
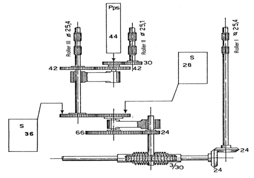
三、依傳動齒輪圖計算:(20 分)
⑴ Roller I 至 Roller III 之牽伸比。
相關申論題
一、繪圖並說明各式假撚加工機構與應用原理。(20 分)
#162084
二、繪圖說明編帶機(braid)製作繩索之機構與原理。(20 分)
#162085
⑵ Roller II 至 Roller III 之牽伸比。
#162087
四、繪圖說明刷毛、剪毛、搖粒製程設備機構與作用原理。(20 分)
#162088
五、繪圖說明不織布梳理機(Roller Card)各部機構及作用原理。(20 分)
#162089
四、請說明毛織物整理加工之燒毛(Singeing)、碳化(Carbonization)及縮絨 (Milling)之加工原理與目的。(25 分)
#537827
三、試繪圖說明緯編針織之舌針(Latch Needle)結構及緯編針織三大基本針法:平針(Plain Stitch)、掛針(Tuck Stitch)及虛針(Miss Stitch),其三角(Cam)作用織針之動作原理。(25 分)
#537826
二、請繪圖說明噴氣假撚技術 interlace 加工之原理與機構。(25 分)
#537825
一、請繪圖說明雙包覆彈性紗(Double Covering Yarn)加工法與其紗線結構。 (25 分)
#537824
四、請詳述常用的三種經編針織機之種類與織造方式。(25 分)
#508455
相關試卷
114年 - 114 關務特種考試_三等_紡織工程(選試英文):紡織機械學(包括應用原理、設備流程)#126546
114年 · #126546
113年 - 113 關務特種考試_三等_紡織工程(選試英文):紡織機械學(包括應用原理、設備流程)#119447
113年 · #119447
112年 - 112 關務特種考試_三等_紡織工程:紡織機械學(包括應用原理、設備流程)#113880
112年 · #113880
111年 - 111 關務特種考試_三等_紡織工程:紡織機械學(包括應用原理、設備流程)#107556
111年 · #107556
110年 - 110 關務特種考試_三等_紡織工程:紡織機械學(包括應用原理、設備流程)#110565
110年 · #110565
109年 - 109 關務特種考試_三等_紡織工程:紡織機械學(包括應用原理、設備流程)#86311
109年 · #86311
108年 - 108 關務特種考試_三等_紡織工程:紡織機械學(包括應用原理、設備流程)#75723
108年 · #75723
106年 - 106 關務特種考試_三等_紡織工程:紡織機械學(包括應用原理、設備流程)#61252
106年 · #61252
105年 - 105 關務特種考試_三等_紡織工程:紡織機械學(包括應用原理、設備流程)#50054
105年 · #50054
104年 - 104 關務特種考試_三等_紡織工程:紡織機械學(包括應用原理、設備流程)#42222
104年 · #42222