阿摩線上測驗 登入

申論題資訊

試卷:109年 - 109 中央造幣廠_新進人員甄試_機械技術員:機械原理#88094
科目:機械原理(機械概論、大意)
年份:109年
排序:0

題組內容

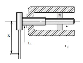
參、複式螺旋裝置如圖所示,L1 及 L2 使用公制螺栓,其螺紋標示 L1 為 R – 2N – M20 × 2.5 – 5g 6g, L2為 L – 2N – M20 × 1.5 – 5g 6g,手柄半徑為 R = 40 mm,N為從動件,圓周率 π 的值以 3.14 計 算,請依序回答下述問題,各項值需列出正確計算式。(本題答案如有小數點,計算至小數點以下 二位)。5f0e647db513a.jpg

申論題內容

(3)當手柄轉動一圈,從動件 N 移動多少長度(單位:mm)? (5分)

詳解 (共 1 筆)

詳解 提供者:中正高工 (動力機械王)梁鋅神 (神燈) 苦海明燈

不是2N,雙線螺紋嗎?