阿摩線上測驗
登入
首頁
>
機械原理(機械概論、大意)
> 103年 - 103年高等三級暨普通考普通機械原理概要#43443
103年 - 103年高等三級暨普通考普通機械原理概要#43443
科目:
機械原理(機械概論、大意) |
年份:
103年 |
選擇題數:
0 |
申論題數:
11
試卷資訊
所屬科目:
機械原理(機械概論、大意)
選擇題 (0)
申論題 (11)
【已刪除】一、圖中所示之槓桿系統具左右質量、左右彈簧及左右阻尼,假設無重力效應且槓桿無 質量,於圖示位置 θ 、角速度 ω 、角加速度 α 皆為零,且無外力作用( F = 0 )時為 靜平衡。試推導有外力作用( F ≠ 0 ),且θ 變化很小時之力平衡方程式。(20 分)
(1)推導、說明並繪製由地板上觀察之瞬心軌跡方程式(x, y 之函數)。(5 分)
(2) 推導、說明並繪製由桿件上觀察之瞬心軌跡方程式(u, v 之函數)。(10 分)
(3)說明地板上觀察之瞬心軌跡與桿件上觀察之瞬心軌跡之關聯性。(5 分)
(1)轉速比。(10 分)
(2) 機械效率η 。(10 分)
(1) 理論輪廓(Pitch curve)。
(2)等效四連桿機構。
(3)傳輸角與壓力角。
(4)頂桿之位移曲線圖(圖中需註明橫、縱軸與各曲線段名稱)。
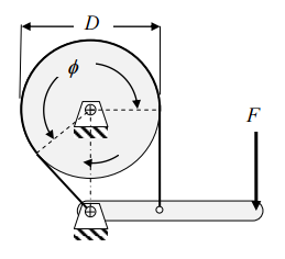
【已刪除】五、圖中所示之制動裝置,其皮帶與輪轂間之摩擦係數為 f,接觸角為 ϕ,輪轂直徑為 D, 皮帶之寬度為 b,試推導當圖示中槓桿有一作用力 F,使皮帶作用於轂上之最大壓 力為 P
max
時,其制動扭矩τ 之方程式。(20 分)