阿摩線上測驗
登入
首頁
>
機械設計
> 103年 - 103 高等考試_三級_機械工程:機械設計#29188
103年 - 103 高等考試_三級_機械工程:機械設計#29188
科目:
機械設計 |
年份:
103年 |
選擇題數:
0 |
申論題數:
11
試卷資訊
所屬科目:
機械設計
選擇題 (0)
申論題 (11)
(1)摩擦功率。(14 分)
(2)桿臂長 a=?(6 分)
(1)試以最大剪應力理論求安全係數 N
fs
。(6 分)
(2)試以 von Mises-Hencky 理論,求安全係數 N
fs
。(7 分)
(3)若 板 料 為 Class 25 的 鑄 鐵 做 成 ( 抗 壓 強 度σ
uc
=-7000 kg/cm
2
, 抗 拉 強 度 σ
ut
=1750 kg/cm
2
),求安全係數 N
fs
。(7 分)
(1)有效挽力(Effective force)。
(2)緊邊拉力。
(3)鬆邊拉力。
(4)最大有效圓周力(不考慮離心力)。
【已刪除】四、圖中的軸承(Bearing)受到如圖示的穩定負荷,而且不旋轉。 請於 A 點元素中,繪 製顯示其應力狀態的立方塊,並使用莫爾圓計算該位置的主應力。(10 分 請於 B 點元素中,繪製顯示其應力狀態的立方塊,並使用莫爾圓計算該位置的主應力。 (10 分)(請將位置的橫向剪應力效應納入計算。)
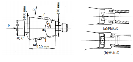
【已刪除】五、圖中為一綜合切削中心機(Machining center)之銑刀軸(Spindle),刀軸表面插入 主軸頭錐孔後承受之面壓(Face pressure)為 4 kg/cm
2
,刀軸與錐孔間之摩擦係數為 μ =0.25,試問抓刀力應為多少 kg(可畫自由體圖來幫助解答)?(15 分)另外常 用於綜合切削中心機之公制銑刀軸,其代號種類主要有那些?(5 分)
相關試卷
115年 - 115 身心障礙特種考試_四等_機械工程:機械設計概要#138890
115年 · #138890
115年 - 115 身心障礙特種考試_三等_機械工程:機械設計#138882
115年 · #138882
114年 - 114 地方政府公務特種考試_三等_機械工程:機械設計#134728
114年 · #134728
114年 - 114 地方政府公務特種考試_四等_機械工程:機械設計概要#134719
114年 · #134719
114年 - 114 公務、關務升官等考試_薦任_機械工程、技術類(選試機械設計)-關務:機械設計#133265
114年 · #133265
114年 - 114 交通事業港務升資考試_員級晉高員級_技術類(選試機械設計)-港務:機械設計#133244
114年 · #133244
114年 - 114 高等考試_二級_機械工程:機械設計學#131583
114年 · #131583
114年 - 114 原住民族特種考試_四等_機械工程:機械設計概要#130917
114年 · #130917
114年 - 114 高等考試_三級_機械工程:機械設計#128741
114年 · #128741
114年 - 114 普通考試_機械工程:機械設計概要#128447
114年 · #128447