阿摩線上測驗
登入
首頁
>
遊艇與動力小船駕駛◆自用
> 104年 - 輪機常識圖形(自用)101-122#28331
104年 - 輪機常識圖形(自用)101-122#28331
科目:
遊艇與動力小船駕駛◆自用 |
年份:
104年 |
選擇題數:
11 |
申論題數:
0
試卷資訊
所屬科目:
遊艇與動力小船駕駛◆自用
選擇題 (11)
25. 下圖表示內燃機循環在何行程?
(A)進氣 (B)壓縮 (C)排氣 (D)膨脹動力
26. 下圖表示內燃機循環在何行程?
(A)進氣 (B)壓縮 (C)排氣 (D)膨脹動力
27. 下圖表示內燃機循環在何行程?
(A)進氣 (B)壓縮 (C)排氣 (D)膨脹動力
28. 下圖中何項是二行程內燃機循環之掃氣行程?
(A)甲 (B)乙 (C)丙 (D)丁
29. 下圖中何項是二行程內燃機循環之壓縮行程?
(A)甲 (B)乙 (C)丙 (D)丁
34.下圖中何項是二行程內燃機循環之點火燃燒?
(A)甲 (B)乙 (C)丙 (D)丁
35.下圖中何項是二行程內燃機循環之膨脹行程?
(A)甲 (B)乙 (C)丙 (D)丁
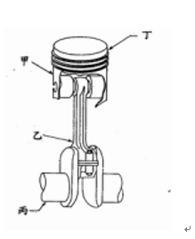
54. 下圖中何項是活塞?
(A)甲 (B)乙 (C)丙 (D)丁
55. 下圖中何項是活塞環?
(A)甲 (B)乙 (C)丙 (D)丁
59. 下圖中何項是連桿?
(A)甲 (B)乙 (C)丙 (D)丁
66. 下圖中何項是曲軸?
(A) 甲 (B)乙 (C)丙 (D)丁
申論題 (0)
相關試卷
108年 - 108 遊艇與動力小船駕駛測驗題庫(自用)第六章_船藝與操船:甲板設備與繩索#98506
108年 · #98506
108年 - 108 遊艇與動力小船駕駛測驗題庫(自用)第六章_船藝與操船:航行規劃與技術#98505
108年 · #98505
108年 - 108 遊艇與動力小船駕駛測驗題庫(自用)第五章_船機常識:維修保養故障排除#98504
108年 · #98504
108年 - 108 遊艇與動力小船駕駛測驗題庫(自用)第五章_船機常識:內燃機(51-98)#98502
108年 · #98502
108年 - 108 遊艇與動力小船駕駛測驗題庫(自用)第五章_船機常識:內燃機(1-50)#98500
108年 · #98500
108年 - 108 遊艇與動力小船駕駛測驗題庫(自用)第七章_通訊與緊急措施:緊急對策#98499
108年 · #98499
108年 - 108 遊艇與動力小船駕駛測驗題庫(自用)第五章_船機常識:內燃機(1-50)#98482
108年 · #98482
108年 - 108 遊艇與動力小船駕駛測驗題庫(自用)第三章_航海常識:航儀及航路標誌#98481
108年 · #98481
108年 - 108 遊艇與動力小船駕駛測驗題庫(自用)第三章_航海常識:特殊性及駕駛知識與作為#98471
108年 · #98471
108年 - 108 遊艇與動力小船駕駛測驗題庫(自用)第一章_海事法規:汙染、走私、毒品等#98469
108年 · #98469