阿摩線上測驗
登入
首頁
>
機械原理(機械概論、大意)
> 104年 - 104年普通機械原理概要#42791
104年 - 104年普通機械原理概要#42791
科目:
機械原理(機械概論、大意) |
年份:
104年 |
選擇題數:
0 |
申論題數:
5
試卷資訊
所屬科目:
機械原理(機械概論、大意)
選擇題 (0)
申論題 (5)
【已刪除】一、如圖一所示之機構,請指出機構之機件與各類運動對的數目,並計算其自由度。 (20 分)
【已刪除】二、圖二所示為曲柄搖臂機構,以滑塊 6 為輸出件,請問它常應用於何種工具機?又已 知曲柄 AC 長為 15 cm,曲柄之轉速為 2 rpm,且滑塊 6 之工作行程時間為 20 sec, 試求固定樞軸 A 與 B 的中心距離。(20 分)
三、有一對外嚙合之漸開線齒形全深正齒輪 A 與 B,其中心距為 180 mm,齒輪 A 與齒 輪 B 的轉速比為 3:1,齒輪 A 的模數為 3,壓力角為 20
o
,試求齒輪 A 的齒數、節圓 直徑及基圓半徑。(20 分)
【已刪除】四、如圖三所示之四連桿組,AD 為機架,已知 BC = 50 mm,AD = 25 mm,CD = 35 mm。 若此機構為雙曲柄機構,試求連桿 AB 的桿長最小值。(20 分
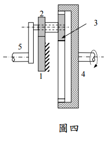
【已刪除】五、圖四所示為飛機螺旋槳減速裝置的行星齒輪系簡圖,其中太陽齒輪 1 被固定住,且 已知太陽齒輪 1 的齒數為 48、複合齒輪 2 與 3 的齒數分別為 24 與 36、環陽齒輪 4 的齒數為 120,齒輪 4 做順時針方向轉動(自右側視之),轉速為 2400 rpm,試求 行星臂 5 的轉速與轉向。(20 分)