所屬科目:機件原理
12. 有一皿形彈簧組合如下圖所示,若兩彈簧之彈簧常數K1=K2=5N/cm,下列敘述何者正確? (A)此組合為並聯,總彈簧常數K=10N/cm (B)此組合為並聯,總彈簧常數K=2.5N/cm (C)此組合為串聯,總彈簧常數K=10N/cm (D)此組合為串聯,總彈簧常數K=2.5N/cm
13. 如下圖所示,兩圓盤與一滾子的摩擦輪裝置,若A、B兩軸中心距為105cm,且 2ωA=5ωB,則滾子R的中心面位置距B軸為 (A)30cm (B)45cm (C)60cm (D)75cm
16. 有一回歸輪系其輪系值為1/6,則下列哪一組齒輪組合可以採用? (A) (B) (C) (D)
19. 有一螺旋若α為導程角,β為螺旋角,L為導程,D為螺旋直徑,下列敘述何者正 確? (A) (B)α+β=180° (C)機械利益為M=cosα (D)L為相鄰兩螺牙對應點的軸向距離
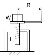
20. 如下圖所示,有一螺旋起重機,若導程L=4mm,物重W=3140N,手柄R=50cm, 機械效率80%,則所需外力F=? (A)4N (B)4πN (C)5N (D)5πN
21. 如下圖所示,兩平行軸螺旋齒輪A、B嚙合傳動,若輪A為主動輪,則兩軸安裝止推軸承的位置何者正確? (A)P、S (B)Q、R (C)P、R (D)Q、S
22. 如下圖所示之輪系,若主動輪A之轉速NA=540RPM(逆時針),則蝸輪F之轉速與轉向為: (A)10RPM(順時針) (B)10RPM(逆時針) (C)20RPM(順時針) (D)20RPM(逆時針)
23. 下列各滑輪組,在不計損失,何者機械利益最大? (A) (B) (C) (D)
24. 有一中國式絞盤如下圖所示,D=100cm、d=50cm、R=200cm、F=50N,下列敘述何者正確? (A)機械利益M=8 (B)可拉起物重W=800N (C)手柄旋轉一圈物體可上升50cm (D)手柄旋轉一圈物體上升或下降所作之功為20KW
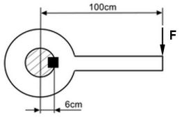
25. 如下圖所示,有一長100cm之手柄,利用一方鍵與半徑6cm之軸連結,若方鍵長4cm,斷面每邊長1cm,若方鍵能承受之剪應力為5Mpa,則作用於手柄端之F力為多少? (A)40N (B)80N (C)120N (D)160N
26. 三階皮帶塔輪如下圖所示,下列敘述何者正確? (A)若D1=d1、D2=d2、D3=d3,則從動輪最高轉速與最低轉速相積等於中間輪轉 速的平方 (B)若以開口帶繞法則皮帶總長為 (C)各階皮帶輪之速比與直徑大小成正比 (D)若為相等塔輪,則以開口帶繞法,各階帶輪之直徑和皆相等 D1+d3=D2+d2=D3+d1
27. 輕級梅花墊圈,其指的是? (A)外徑 (B)內徑 (C)周長 (D)負荷級數
31. 一往復滑塊曲柄機構(如圖所示),AB桿長度10cm,BC桿長度25cm,則C滑塊衝程為多少? (A)15cm (B)20cm (C)35cm (D)50cm
32. 如圖所示一滑輪組,當小明於右端施力F=50N時,試求可以舉起多少物重? (A)150N (B)200N (C)250N (D)300N
39. 一相對五級塔輪,主動輪轉速為270rpm,從動輪最高轉速為540rpm,請問從動輪最高轉速與最低轉速的比值為多少? (A)2 (B)4 (C)6 (D)8
41. 一螺旋齒輪組,假設A輪主動且向下旋轉,因螺旋齒輪傳動時容易產生軸向推力, 造成傳動推力小、機械效率低,若要改善上述問題可加裝止推軸承,則須裝在A、 B的哪一個方向? (A)左、右 (B)右、左 (C)右、右 (D)左、左
42. 如圖所示為一起重輪系,曲柄長R=45cm,捲筒直徑=27cm,若欲將物重 W=450N吊起,試求曲柄上需施加多少力F? (A) 10N (B) 15N (C) 20N (D) 25N
47. 下列何者為立體凸輪? (A) (B) (C) (D)
48. 下列軸承的名稱與斷面形狀的對應,何者有錯誤? (A)整體軸承 (B)滾珠軸承 (C)四部軸承 (D)滾針軸承
49. 如圖所示的混合型盤型彈簧,每組由兩個盤型彈簧並聯,今日由三組串連而成, 若單一一個盤型彈簧受P力作用,變形量為δ,試問:受4P力作用後,其變形量為多少? (A)1δ (B)2δ (C)4δ (D)6δ
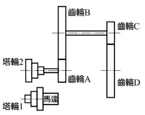
50. 有一回歸輪系設計如圖所示,其動力過程為:先由馬達輸入經由皮帶傳遞給塔輪2,再由齒輪A→齒輪B→齒輪C,最終由齒輪D輸出。齒輪A=18齒、齒輪B=120 齒、齒輪C=12齒、齒輪D=240齒,三階相等塔輪直徑分別為200mm、400mm、600mm,假設馬達轉速為1200rpm,則關於齒輪D轉速的說明,何者正確? (A)最低轉速3rpm (B)最高轉速54rpm (C)最高轉速27rpm (D)最低轉速6rpm