所屬科目:技檢◆泥水-甲級
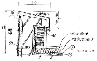
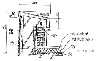
(A)地下層 (B)地面層 (C)屋面層 (D)水溝 。
(A)粉刷層 (B)瀝青層 (C)混凝土層 (D)隔熱磚層 。
(A)粉刷層 (B)防水層 (C)裝飾層 (D)隔音層 。
(A)增加強度 (B)美觀 (C)隔熱 (D)防水 。
(A)15cm (B)20cm (C)30cm (D)80cm 。
(A)A (B)B (C)C (D)D 。
(A)2/41 (B)3/41 (C)5/41 (D)15/41 。
(A)空心磚 (B)搗擺 (C)磁磚 (D)紅磚 。
(A)鋼筋混凝土 (B)油毛氈 (C)泡沫混凝土 (D)砌磚 。
(A)瓷磚軟底濕式工法 (B)瓷磚軟底乾式工法 (C)瓷磚硬底乾式工法 (D)瓷磚硬底濕式工法 。