所屬科目:技檢◆冷作-甲級
(A)(B)(C)(D) 。
(A)C=B×Sinθ (B)C=B×Cosθ (C)C=B×Cotθ (D)C=B×tanθ 。
(A)1.2 (B)2.4 (C)3.6 (D)4.8
(A)三、二、一象限 (B)三、一、二象限 (C)四、二、一象限 (D)四、一、二象限 。
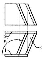
(A)必成平行 (B)必不成平行 (C)不一定,需繪製側視圖判別 (D)必成垂直 。
(A)必相交 (B)不一定,需繪製側視圖判別 (C)必不相交 (D)必成平行 。
(A)1 次 (B)2 次 (C)3 次 (D)4 次
(A)不需折彎 (B)需向外折彎 (C)需向內折彎 (D)需劃線衝打記號 。
(A)等於板厚 (B)取大於板厚之示意尺寸即可 (C)取小於板厚之示意尺寸即可 (D)劃複斜面之邊視圖,得板緣之厚度,投影回視圖即可 。
(A)等於θ角 (B)依經驗取θ角加 3~5 度即可 (C)用副投影法求取正確夾角,應比θ角大 (D)用副投影法求取正確夾角,應比θ角小 。
(A)求單面(表面或背面)之實形,配合斜切之角度 (B)雙面之實形均要求,再配合斜切之角度 (C)比較表、背面之邊長,取短的一邊 (D)先組件 1、件 2 再實地量取實形之尺寸 。
(A)端視圖法 (B)直線貫穿法 (C)輔助球法(D)三角平面法 求交線最為簡單、快速。
(A)端視圖法 (B)直線貫穿法 (C)輔助球法 (D)三角平面法 ,求交線最為簡單、快速。