所屬科目:結構學概要與鋼筋混擬土學概要
一、如圖一所示之平面桁架橋梁,A 點為鉸支承,I 點為滾支承,其他各點皆為鉸接,載重作用在 EFGH 四點各 20 kN。試求 A 點和 I 點之垂直反力, 並取適當位置切斷面取自由體,求出桿件 EF、EN 和 MN 的軸力。
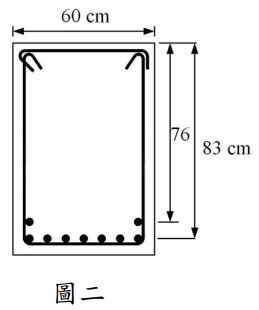
二、圖二為一鋼筋混凝土梁,主筋分成二層排列,由梁頂面至底層 7 支 D32 鋼筋中心之深度為 83 cm,至第二層 2 支 D32 鋼筋深度為 76 cm。 試求斷面之有效深度 d 為若干?另試依規範計算斷面之彎矩設計強度 =?已知混凝土規定抗壓強度=280 kgf/cm2 ,鋼筋降伏強度 = 4200 kgf/cm2,單支 D32 鋼筋截面積為 8.143 cm2。
三、圖三為 1 m 寬之單向板斷面,相當於無剪力筋之梁,底層 D13 鋼筋間距 25 cm,D13 鋼筋單根斷面積為 1.267 cm2,降伏強度= 4200 kgf/cm2, 常重混凝土規定抗壓強度=280 kgf/cm2。試依規範求此斷面之剪力設計強度 。
四、試繪製圖四梁之剪力圖和彎矩圖。