所屬科目:國營事業◆1.應用力學 2.材料力學
1. 萬有引力定律公式為,其中萬有引力常數G之值最接近下列何者(單位:m3 / kg-s2)? r (A)(B)(C)(D)
2. 如右圖(a)所示,OA桿長度為4 m且重量不計,A端受F = 25 kN之水平力作用,若將此受力系統改以作用於O點之力與力偶等效系統取代如右圖(b),則下列何者正確?
(A) P = 17.68 kN (B) P = 25 kN (C) M = 70.71 kN-m (D) M = 100 kN-m
3. 力學的物理量可概分為「純量」及「向量」兩種性質,下列何者屬於「向量」? (A)動量 (B)速率 (C)能量 (D)密度
4. 有兩位置向量P及Q,其中P為原點至(3, -8, 5),Q為原點至(11, 1, n),若兩位置向量互相垂直,則n值為何? (A) -10 (B) -5 (C) 5√2 (D) 10√2
5. 有一桁架構造如右圖所示,當外力P = 50 kN時,則桿件b內的桿件內力值為何?
(A) 28 kN (B) 58 kN (C) 71 kN (D) 91 kN
6. 有一半徑r = 300之圓弧如右圖所示,其形心位置座標為(C, 0),則C值為何?
(A) 200 (B) 225 (C) 250 (D) 270
7. 一物體位於g = 10 m / s2的重力場,若其重量為20 kgf,則其質量為何? (A) 9.81 kg (B) 10 kg (C) 19.62 kg (D) 20 kg
8. 空間中兩點A(3, 5, -1)及B (7, -5, 2),則A相對於B之位置向量的大小值為何? (A) 10.05 (B) 11.18 (C) 14.75 (D) 33.62
9. 有一材料均質的圓錐體,其底面圓之直徑為40 cm,底面至錐尖的高度為60 cm,則該圓錐體重心位置距離錐尖的長度為何? (A) 15 cm (B) 20 cm (C) 40 cm (D) 45 cm
10. 如右圖所示,一桁架構造受垂直外力P及2P作用,有關其桿件的內力 ,下列敘述何者正確?
(A) AB及CD為零桿件 (B) BF及CE為零桿件 (C) BE及DE為零桿件 (D) BC及EF為零桿件
11. 有關質心、重心與形心的位置,下列敘述何者正確? (A) 物體的質心位置與其所處的重力場無關 (B)物體的質心位置必位於該物體內部 (C)面積的形心位置必位於該面積內部 (D)物體的重心位置與該物體密度的均勻性無關
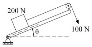
12. 如右圖所示,傾斜板上有一重200 N的物體受到一平行於板面的繩索拖曳,若繩索受100 N的力作用,物體與板面的靜摩擦係數為 0.268,則使物體不發生下滑的最大傾斜角度θ最接近下列何者?
(A) 23度 (B) 44度 (C) 56度 (D) 68度
13. 汽車沿直線行駛,其速度v = (0.2 t3 + t),式中v的單位為m / s,t的單位為sec。已知當t = 0時 ,汽車為靜止狀態,則當t = 5時,該汽車已行駛的距離為何? (A) 75 m (B) 62 m (C) 56 m (D) 44 m
14. 將一球以21 m / s的速率垂直上拋,請問經過多少時間後,該球下落回初始位置? (A) 4.28 sec (B) 4.46 sec (C) 4.63 sec (D) 4.91 sec
15. 如右圖所示,A車以時速100公里行駛於高架道路上,B車則以時速60公里行駛於下方之平面道路上,兩條道路平面投影之交角為60度。請問A車相對於B車的速度值為何?
(A) 49.23 km / h (B) 62.45 km / h (C) 87.18 km / h (D) 93.02 km / h
16. 如右圖所示,物體A、B的質量皆為10 kg,B與桌面的動摩擦係數為0.4,忽略繩索與滑輪的質量。當A釋放時,B的加速度值為何?
(A) 2.94 m / s2 (B) 3.33 m / s2 (C) 3.89 m / s2 (D) 4.09 m / s2
17. 如右圖所示,由繩索及滑輪構成的系統吊掛一質量為15 kg的物體A,繩索於 B處連接一直徑為2 m的捲線器,今捲線器以0.9 rad / s的速度順時針轉動收線 ,則此時A的速度值為何?
(A) 0.3 m / s (B) 0.4 m / s (C) 0.5 m / s (D) 0.6 m / s
18. 如右圖所示,物體B靜置於光滑桌面上,物體A及B的質量分別為8 kg及12 kg,A、B之間的最大靜摩擦係數及動摩擦係數分別為0.35及0.25,當A受25 N的水平作用力時,A及B的加速度分別為及,則之值為何?
(A) 0.67 (B) 1.25 (C) 2.5 (D) 4.5
19. 如右圖所示,砝碼A質量為20 kg,於h = 0處由靜止狀態釋放,各彈簧常數K皆為40 N / m,彈簧未變形時長度為2 m,則當砝碼在h = 2 m處時的速度值為何?
(A) 4.13 m / s (B) 4.62 m / s (C) 5.79 m / s (D) 6.04 m / s
20. 如右圖所示,質量2 kg的物體A從距平面高度6 m處,以初始速度3 m / s沿光滑斜坡下滑,隨後撞上質量8 kg靜置於平面上的物體B,碰撞後兩物體結合,請問碰撞後兩物體的速度為何?
(A) 2.05 m / s (B) 2.25 m / s (C) 2.45 m / s (D) 2.85 m / s
21. 一光滑平面上有兩球體,A球質量200 g,B球質量300 g,A球以0.5 m / s的初始速率朝B球直線前進,B球則以0.8 m / s的初始速率朝A球直線前進,兩球發生正碰撞後,A球及B球的速度分別為va及vb,若兩球間的恢復係數為0.5,則va / vb之值為何? (A) -0.22 (B) 0.03 (C) 33.5 (D) 127.1
22. 如右圖所示,一質量2 kg的物體與一長度3 m的剛性桿連結,忽略剛 3m 性桿的質量,物體受外力P = 4t作用後(P的單位為N,t的單位為sec) 將繞著O點在光滑水平面上旋轉。若P的作用線與物體路徑切線的 O 夾角θ保持60度,且t = 0時,物體為靜止狀態,則當t = 6時,物體的速率為何?
(A) 18 m / s (B) 36 m / s (C) 48 m / s (D) 60 m / s
23. 如右圖所示,一質量1.5公噸的汽車停放在斜坡上,與下坡貨櫃的距離為20公尺,今汽車開始向下滑動,坡面傾斜角度30度且摩擦係數為0.2,則當汽車觸碰到貨櫃時的速度為何?
(A) 7.08 m / s (B) 10.55 m / s (C) 11.32 m / s (D) 14.14 m / s
24. 如右圖所示,一繩索裹繞於半徑為r的圓柱體上,若圓柱體從靜止狀態被釋放 ,則當圓柱體下降距離達s時,其對圓心O點的角速度為何?
(A)(C)(B)(D)
25. 如右圖所示,有一直徑2.4 m且重量30 kN的圓柱體被牽繩拉引上高0.4 m的台階,當圓柱體恰離開底部水平面達平衡時 ,此時台階A點處的反力為何?
(A) 33 kN (B) 38 kN (C) 45 kN (D) 52 kN
26. 有一軟鋼試片受單軸向之拉伸試驗,其應力(σ)-應變(ε)圖如右所示,關於此材料之測試結果,下列敘述何者有誤?
(A) 在BC段為完全塑性,且材料沒有明顯應變硬化 (B)在超過C點以後直至D點,材料產生應變硬化 (C) 在D點之後,工程應力降低,主要是因為試片產生頸縮,而非材料發生軟化 (D) 在E點試片產生斷裂,將斷裂試片之側向應變除以軸向應變之比值為材料之蒲松比(Poisson’s ratio)
27. 有關應力與應變之敘述,下列敘述何者正確? (A) 材料受外力作用後再將外力移去,如仍能恢復原狀,其應力值稱為該材料之極限應力 (B)虎克定律是指物體受力後,其應力與彈性係數成正比 (C) 蒲松比定義為橫向應力與軸向應力之比值 (D) 材料蒲松比為 0.5 之物體,其受力後體積變化量為 0
28. 金屬材料可依據拉伸試驗或壓縮試驗之數據獲得應力(σ)-應變(ε)圖,而當應力(σ)-應變(ε)圖中無明確之降伏點時,則可採偏距法(offset method)計算該材料之降伏強度,下列何者最常作為應變之偏距值? (A) 0.002 (B) 0.004 (C) 0.02 (D) 0.04
29. 有一均勻厚度之正方形板受到三軸應力 = 60 MPa, = -10 MPa, = 0 MPa,所產生之應變為,,下列敘述何者有誤? (A) 正方形板之彈性係數E為200 GPa (B)正方形板之蒲松比為0.3 (C)正方形板於z軸之應變量 (D) xy面之最大剪應力= 70 MPa
30. 結構鋼之應力(σ)-應變(ε)圖如右所示,下列敘述何者有誤?
(A) 於OA段任意點卸載應力會沿著應力-應變曲線AO線回到O點 ,不會發生永久變形 (B) 該材料在BC段範圍內沒有抵抗變形的能力,稱為完全塑性 (C) B點為拉力達最大值時對應的應力,稱為極限應力 (D) OA段為直線,在此區間,應力與應變成正比,此現象稱為線性
31. 如右圖(a)所示,一桿件之斷面積A = 1 cm2,長度L = 40 cm ,其材料之受拉力P與伸長量δ關係如右圖(b)所示,若已知材料之蒲松比為0.25,則桿件之剪力模數G值為何?
(A) 80 GPa (B) 100 GPa (C) 125 GPa (D) 200 GPa
32. 有一軸向桿件之斷面積A = 150 mm2,材料彈性係數E = 200 GPa ,其受力如右圖所示,該桿件並未發生挫屈,則儲存於桿件內之軸向應變能U值為何?
(A)(B)(C) (D)
33. 如右圖所示,一桁架其彈性係數E = 200 GPa,所有桿件斷面積A均為150 mm2,於E點施加P = 3 kN的垂直向下作用力,請問AC桿之變形量為何? (A)縮短0.4167 mm (B)縮短0.2083 mm (C)伸長0.2083 mm (D)伸長0.4167 mm
34. 有一軸向桿件其彈性係數E = 1.05 × 106 kgf / cm2,熱膨脹係數α = 0.184 × cm / cm ∙ ℃,桿件兩端為固定端,桿件斷面積為10 cm2,當溫度為20 ℃時,其長度為1.5 m,若溫度上升至 80 ℃時,則桿端反力為何? (A) 1159.2 kgf (B) 1545.6 kgf (C) 11592 kgf (D) 15456 kgf
35. 有一靜定梁結構承受均佈載重,有關其剪力、彎矩圖的敘述,下列何者正確? (A) 簡支梁的彎矩圖為直線 (B) 梁之彎矩差值,不可由剪力圖上之面積求得 (C)剪力為零的點,彎矩將產生相對極值 (D)懸臂梁在自由端的彎矩值最大
36. 有一平面應力之莫爾圓如右圖所示,其中A點代表x面(θ = 0°)之應力狀態,B點代表y面(θ = 90°)之應力狀態,C點為圓心,下列敘述何者有誤?
(A)最大主應力為28 MPa (B)此平面應力為雙軸應力 (C)最大剪應力為17.5 MPa (D) C點座標為(10, 0)
37. 有一長度為3D之剛性桿,一端為鉸接、一端為自由端,由兩條材料性質、斷面積A及長度皆相同之鋼索,分別於距離鉸接支承端D及2D位置處吊掛固定,於剛性桿自由端處施加一向下垂直力P,若鋼索之降伏應力為力σy,則僅造成一條鋼索降伏時,載重P最小值為何? (A)(B) (C) (D)
38. 有關理想桁架分析時之假設,下列敘述何者有誤? (A) 桁架各桿件為二力構件,除傳遞軸向拉力或壓力外,亦會有剪力或彎矩傳遞 (B)所有外力載重皆作用於節點上,由節點傳遞內力 (C)桁架之受力變形小,可忽略變形 (D)節點皆為銷釘連接,且無摩擦力
39. 有一外徑為30 cm之扭力桿件,其斷面為中空圓形,桿件於承受一扭矩作用後,其內壁之剪應力為60 MPa,外壁之剪應力為90 MPa,則該扭力桿件之內徑為何? (A) 18 cm (B) 20 cm (C) 22 cm (D) 24 cm
40. 有一圓管外徑為100 mm,內徑為80 mm,長度為4 m,其承受5 kN-m之扭矩,剪力模數為 30 GPa,則該圓管外壁之剪應力為何? (A) 21.57 MPa (B) 43.13 MPa (C) 86.26 MPa (D) 172.53 MPa
41. 有一矩形方管,長寬為100 mm × 80 mm,斷面壁厚皆為5 mm之薄壁,其承受8 kN-m之扭矩,則其壁中扭轉剪應力為何? (A) 112.28 MPa (B) 224.56 MPa (C) 258.76 MPa (D) 517.52 MPa
42. 如右圖所示,一靜不定梁兩端分別為固定端及滾支承,承受4 kN / m 之垂直向下均佈載重,則B點之支承反力為何?
(A) 1 kN (B) 2 kN (C) 3 kN (D) 4 kN
43. 如右圖所示,一簡支梁分別承受300 N及600 N兩垂直作用力,若支承反力,則X值為何?
(A) 1 m (B) 2 m (C) 3 m (D) 4 m
44. 如右圖所示,一軸向桿件承受一軸力P作用,A點與C點均為鉸接,桿件在中點B處有側向支撐,已知桿件斷面之I = 8000 cm4,L = 5 m,彈性係數E = 2 × 106 kgf / cm2,若另一軸斷面不會發生挫屈,則其臨界挫屈載重為何?
(A) 157.91 tf (B) 322.27 tf (C) 631.65 tf (D) 1289.09 tf
45. 有一材料承受雙軸向應力,若其主應力σ1 = 50 MPa,σ2 = 30 MPa,則其最大剪應力為何? (A) 0 MPa (B) 10 MPa (C) 20 MPa (D) 40 MPa
46. 有一平面應力元素如右圖所示,若最大剪應力為50 MPa,則應力元素有可能為下列何者?
(A)(B)(C)(D)
47. 有一斷面為40 cm × 60 cm靜定簡支梁,長度為10 m,其彈性係數E = 2 × 106 kgf / cm2,該梁承受垂直向下均佈載重w = 1 tf / m,則簡支梁中點之垂直變位量為何? (A) 0.04 cm (B) 0.09 cm (C) 0.18 cm (D) 0.24 cm
48. 有一矩形斷面梁桿件,斷面積之寬度為a,高度為3a,可承受之彎矩為M1,若將斷面改為寬度為3a,高度為a,可承受之彎矩為M2,則M2:M1為何? (A) 1:2 (B) 1:3 (C) 1:4 (D) 1:5
49. 有一30 mm × 80 mm矩形斷面梁,其彈性係數E = 70 GPa,該梁承受一作用於強軸之彎矩 M = 1 kN-m作用,則梁之最大撓曲拉應力為何? (A) 7.84 MPa (B) 13.81 MPa (C) 27.56 MPa (D) 31.25 MPa
50. 有一均質矩形懸臂梁跨度20 m,斷面寬度為40 cm,高度為60 cm,有一均佈載重w作用於懸臂梁上,若忽略梁自重影響,已知梁的降伏應力為2.4 tf / cm2,請問在彈性變形內,該懸臂梁之最大均佈載重為何? (A) 2.88 tf / m (B) 5.76 tf / m (C) 8.64 tf / m (D) 11.52 tf / m