所屬科目:一二三等大管輪◆電機電子與自動控制
2. 如果圖 2 的電壓源為 12V ,則流過 RA 的電流為?其中 RA 為 2 歐姆、 RB 為 4 歐姆、 RC 為 4 歐姆。 (A) I=2.2A (B) I=1.1A (C) I=1.2A (D) I=1.3A
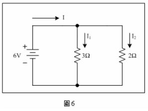
15. 試求圖 6 之 I 2 。 (A) I 2 =1A (B) I 2 =2A (C) I 2 =3A (D) I 2 =4A
28. 下圖之電路, V=60 伏特, R 1 =30 Ω , R 2 =10 Ω , R 3 =5 Ω ,其戴維寧等效電壓為: (A) 10 伏特 (B) 20 伏特 (C) 40 伏特 (D) 60 伏特
29. 三相 Δ 接法的電路,若相電流之有效值為 I p ,則線電流之有 效值為: (A) (B) (C) (D)
30. 三相 Δ 接法的電路,若相電壓為 440V ,相電流為 100A ,則 線電壓為: (A) 440V (B) (C) (D)
31. 若電阻為 40 Ω ,電感抗 80 Ω 及電容抗 50 Ω 串聯,其總阻抗之 大小 Z 為: (A) 40 Ω (B) 50 Ω (C) 170 Ω (D)
41. Δ - Δ 接線之變壓器如果燒毀其中一相,其容量: (A) 不變 (B) 下降為原來的 1/ (C) 降為原來的 1/3 (D) 為零 ( 無法使用 )