阿摩線上測驗
登入
首頁
>
機械原理(機械概論、大意)
>
111年 - 111 普通考試_機械工程:機械原理概要#109364
> 申論題
題組內容
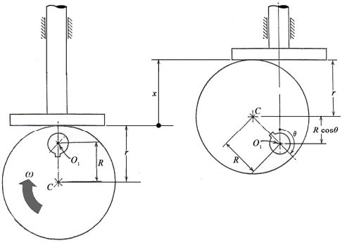
三、如圖所示,一平頂從動件偏心凸輪機構之 C 為偏心凸輪的中心、O
1
為偏心凸輪的旋轉軸心、R 為偏心量、r 為偏心凸輪半徑、ω為偏心凸輪的等 轉速,試推導:
(一)從動件的位移 x 與偏心凸輪旋轉角關係式。
相關申論題
(一)試列出 L1 與 關係。
#468268
(二)試列出 L2 與關係。
#468269
(三)試列出滑塊速度與導程之關係式。
#468270
(四)試求當 n = 120 rpm、p1 = 1.5 mm、p2 = 1 mm,滑塊向左移動 30 mm 所需時間。
#468271
(一)節圓直徑(pitch diameter)。
#468272
(二)法向模數(normal module)。
#468273
(三)法向周節(normal circular pitch)。
#468274
(四)橫向面周節(transverse circular pitch)。
#468275
(二)試繪從動件的位移曲線與偏心凸輪旋轉 360 度之示意圖。
#468277
(三)從動件的速度 v 與偏心凸輪旋轉角 關係式。
#468278
相關試卷
115年 - 115 關務特種考試_四等_機械工程(選試英文):機械原理概要#138916
115年 · #138916
114年 - 114 關務特種考試_四等_機械工程(選試英文):機械原理概要#126566
114年 · #126566
113年 - 113-2 國營臺灣鐵路股份有限公司_從業人員甄試試題_第10階-助理技術員:機械原理概要#125611
113年 · #125611
113年 - 113 臺灣菸酒股份有限公司_年從業職員及從業評價職位人員甄試試題_從業評價職位人員:機械概論#123491
113年 · #123491
113年 - 113 中央印製廠新進人員甄試試題_印製技術員:機械概論#123139
113年 · #123139
113年 - 113 關務特種考試_四等_機械工程(選試英文):機械原理概要#119482
113年 · #119482
112年 - 112 中央銀行所屬中央印製廠、中央造幣廠_新進人員聯合甄試試題_印製技術員/機械技術員:機械概論#120212
112年 · #120212
112年 - 112 地方政府特種考試_四等_機械工程:機械原理概要#118123
112年 · #118123
112年 - 112 原住民族特種考試_四等_機械工程:機械原理概要#116511
112年 · #116511
112年 - 112 普通考試_機械工程:機械原理概要#115401
112年 · #115401