題組內容
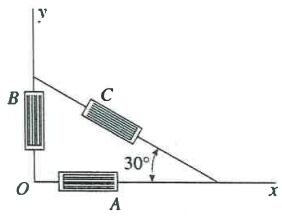
3. (25分) On the surface of a structural component, the strains are monitored by means of three strain gages arranged as shown in the figure. The following strains were recorded:
εa = 1100 X 10-6, εb =200x10-6, and εc =200x10-6.
The material properties of the metal alloy are E = 70 GPa, v= 0.33
You MUST draw Mohr's circle (i)(4分) to determine the following quantities and show the results of principal strains (ii)and stresses(iii)on sketches of properly oriented elements (2分each,共4分):
(1) (3分) the strains for an element oriented at an angle θ = 40°, εx=__________ , εy =________ , γxy =_________ (請將各相關答案於答案卷內依序、並標明題號(包括各小題)作答)