阿摩線上測驗
登入
首頁
>
機械原理(機械概論、大意)
>
101年 - 101中央造幣-機械原理#93828
> 申論題
題組內容
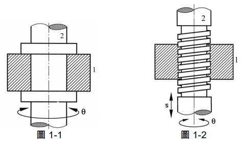
一、圖 1-1 與圖 1-2表示在機構(mechanism)裡的運動對(kinematic pairs),請回答下列問題:
⑷請敘述運動對是高對(higher pairs)及低對(lower pairs)的定義。【5 分】
相關申論題
⑴請問圖 1-1 與圖 1-2 是什麼名稱?【5 分】
#386669
⑵若元件標號 1 為固定,請說明元件標號 2 的運動方式。【5 分】
#386670
⑶請分別說明該兩運動對的自由度。【5 分】
#386671
⑸圖 1-1 與圖 1-2 的運動對是屬高對還是低對?【5 分】
#386673
⑴齒輪 4 的齒數為何?【11 分】
#386674
⑵齒輪 4 是多少 rpm?【7 分】
#386675
⑶齒輪 2 是多少 rpm?【7 分】
#386676
三、 ⑴請說明何謂螺旋原理?【5 分】
#386677
⑵有關螺紋運用可分為「差動螺旋」與「複式螺旋」,請說明其特性。【10 分】
#386678
⑶有一差動螺旋之組合,L1導程 8mm 之右螺旋,L2導程 3mm 之右螺旋,手柄半徑為 40mm,請問手柄旋轉一圈,從動件移動多少 mm?【5 分】此機構之機械利益為多少?【5 分】
#386679
相關試卷
115年 - 115 關務特種考試_四等_機械工程(選試英文):機械原理概要#138916
115年 · #138916
114年 - 114 關務特種考試_四等_機械工程(選試英文):機械原理概要#126566
114年 · #126566
113年 - 113-2 國營臺灣鐵路股份有限公司_從業人員甄試試題_第10階-助理技術員:機械原理概要#125611
113年 · #125611
113年 - 113 臺灣菸酒股份有限公司_年從業職員及從業評價職位人員甄試試題_從業評價職位人員:機械概論#123491
113年 · #123491
113年 - 113 中央印製廠新進人員甄試試題_印製技術員:機械概論#123139
113年 · #123139
113年 - 113 關務特種考試_四等_機械工程(選試英文):機械原理概要#119482
113年 · #119482
112年 - 112 中央銀行所屬中央印製廠、中央造幣廠_新進人員聯合甄試試題_印製技術員/機械技術員:機械概論#120212
112年 · #120212
112年 - 112 地方政府特種考試_四等_機械工程:機械原理概要#118123
112年 · #118123
112年 - 112 原住民族特種考試_四等_機械工程:機械原理概要#116511
112年 · #116511
112年 - 112 普通考試_機械工程:機械原理概要#115401
112年 · #115401