阿摩線上測驗
登入
首頁
>
港務局◆電力系統與電路學
>
101年 - 101 臺灣港務公司儲備從業人員_師級_機電:1.應用力學、2.機械設計、3.電力系統(包括電路學)#83423
> 申論題
題組內容
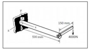
題目二: 下圖中之實心圓棒直徑為 40 mm,受到如圖之支撐及負荷,其中 A 點為圓棒上與牆壁 接觸面最上緣之點。
(三)綜合上述各種應力,A 點處所受之綜合最大主應力(principal stress)及最大剪應力 (shearing stress)各為何?(以 MPa 為單位)【5 分】
相關申論題
(一)畫出球的自由分離圖(free body diagram)與動態圖(dynamic diagram),圖中需適 當的標示出此時重量 W、斜坡垂直作用力 N、摩擦力 F、慣性力矩 Ia 及慣性力 maG。(I 為質心之轉動慣量,a 及 aG分別為角加速度及球心加速度)【5 分】
#340002
(二)由力矩平衡方程式建立 g、aG及 a 間的關係。【5 分】
#340003
(三)假設球與斜坡間為靜摩擦,計算球心加速度 aG、斜坡垂直作用力 N 及摩擦力 F 之值。【5 分】
#340004
(四)判斷上述假設合不合理?如不合理,則令球與斜坡間為動摩擦,重新計算球心加 速度 aG、斜坡垂直作用力 N 及摩擦力 F 之值。【5 分】
#340005
(五)由上面所求之資料,計算球在斜坡滾下 10 m 時的速度。【5 分】
#340006
(一)圓棒與牆壁接觸面所受的剪力、扭力矩及彎力矩各為何?【10 分】
#340007
(二)上述剪力、扭力矩及彎力矩分別在 A 點造成之應力各為何?(以 MPa 為單位) 【10 分】
#340008
(一)軸上所承受之最大扭矩(torque)及彎矩(bending moment)分別是多少 N-mm? 【10 分】
#340010
(二)根據畸變能理論之等效應力(Distortion energy theory, )及疲勞失效 之 Goodman 理論(),安全係數 SF=?【15 分】
#340011
(一)應力集中(stress concentration)。【5 分】
#340012
相關試卷
114年 - 114 臺灣港務股份有限公司_新進從業人員甄試_電機:電力系統與電路學#126743
114年 · #126743
112年 - 112 臺灣港務股份有限公司_新進從業人員甄試試題_師級_電機 :電力系統與電路學#114066
112年 · #114066
108年 - 108 臺灣港務股份有限公司新進從業人員甄試_師級_電機:電力系統與電路學#83151
108年 · #83151
107年 - 107 臺灣港務股份有限公司新進從業人員甄試_師級_電機:電力系統與電路學#83180
107年 · #83180
106年 - 106-2 臺灣港務股份有限公司從業人員甄試_師級_電機:電力系統與電路學#83194
106年 · #83194
106年 - 106-1 臺灣港務股份有限公司從業人員甄試_師級_電機:電力系統與電路學#83189
106年 · #83189
105年 - 105-2 臺灣港務股份有限公司從業人員甄試_師級_電機:電力系統與電路學#83218
105年 · #83218
105年 - 105-1 臺灣港務股份有限公司從業人員甄試_師級_電機:電力系統與電路學#83211
105年 · #83211
104年 - 104-1 臺灣港務股份有限公司從業人員_師級_電機:電力系統#83342
104年 · #83342
104年 - 104-1 臺灣港務股份有限公司從業人員_師級_ 電機:電路學#83338
104年 · #83338