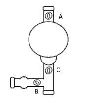
11.如右圖所示為一安全吸球,裝於吸管上以吸取液體試劑或樣品,球上有 3 個閥 A、B、C。使用時操作步驟為排氣、吸液、排液,請問前述步驟對應 3 個閥之操作順序,依序為________。(請以 A、B、C 表示)

詳解 (共 2 筆)
詳解

所以我說,那個圖呢
詳解
