題組內容
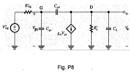
8.計算題(15分) Figure P8 shows a generalized high-frequency equivalent circuit for the common-source amplifier. For the case of gm = 2 mA/V,
= 10 kΩ, and R'L = 20 kΩ.
8.計算題(15分) Figure P8 shows a generalized high-frequency equivalent circuit for the common-source amplifier. For the case of gm = 2 mA/V,
= 10 kΩ, and R'L = 20 kΩ.