阿摩線上測驗
登入
首頁
>
輪機保養與維修(概要)(包括輪機基本知識)
> 100年 - 100年第二次專技普考輪機保養與維修概要(包括輪機基本知識)#46002
100年 - 100年第二次專技普考輪機保養與維修概要(包括輪機基本知識)#46002
科目:
輪機保養與維修(概要)(包括輪機基本知識) |
年份:
100年 |
選擇題數:
40 |
申論題數:
0
試卷資訊
所屬科目:
輪機保養與維修(概要)(包括輪機基本知識)
選擇題 (40)
1.固定質量的理想氣體在定容條件下,溫度從27℃上升到127℃,其壓力變為原來的多少倍? (A)4/3 (B)3/4 (C)127/27 (D)27/127
2.比容與下列何者互為倒數? (A)壓力 (B)體積 (C)質量 (D)密度
3.灰口鑄鐵具有良好的鑄造性、消震性、耐磨性等,主要原因為組織中含有: (A)鐵素體 (B)珠光體 (C)石墨 (D)滲碳體
4.柴油機發生爆震的主要原因為: (A)冷卻水溫度過高 (B)引擎轉速過高 (C)著火延遲時間過長 (D)燃料燃點過低
5.船舶柴油機在何種狀況下,會導致氣缸蓋溫差過大,使得熱應力增加而產生疲勞裂紋? (A)低負荷運轉 (B)高負荷運轉 (C)冷俥急速啟動 (D)經濟航速運轉
6.船舶柴油機燃油系統,發生在高壓油管上的為何種腐蝕? (A)流動孔蝕 (B)波動孔蝕 (C)化學腐蝕 (D)酸性腐蝕
7.柴油機通常在何種狀況下,較容易對活塞、氣缸套與噴油閥等造成酸性腐蝕? (A)高速行進時 (B)高負荷時 (C)大風浪航行時 (D)低負荷時
8.將活塞環安裝於活塞上的環槽需使用何項工具? (A)擴張器 (B)拉伸器 (C)板手 (D)用手拉開
9.二衝程柴油機氣缸套產生穿透性裂紋,柴油機運轉時會出現何種異常現象? (A)冷卻水溫降低 (B)膨脹水櫃水位波動 (C)滑油乳化變質 (D)曲軸箱油位升高
10.以下何處機件表面之清潔,採取化學方法進行特別有效? (A)活塞裙 (B)熱交換器 (C)燃燒室 (D)管系外表
11.「磨合期」之最大特點之一為: (A)磨耗速率大 (B)總磨耗量大 (C)時間短暫 (D)總磨耗量小
12.金屬腐蝕依其表面特徵,區分為以下那些腐蝕? (A)全面腐蝕與局部腐蝕 (B)化學腐蝕與電解腐蝕 (C)內部腐蝕與表面腐蝕 (D)重金屬腐蝕與輕金屬腐蝕
13.冷凍壓縮機馬達無法啟動應首先檢查下列何者? (A)膨脹閥控制球是否鬆脫 (B)高壓切斷裝置的設定 (C)馬達電路的電源 (D)吸入端之壓力調節器
14.以下何者為空氣壓縮機上附設有釋荷裝置的理由? (A)卸除儲氣槽內的積水 (B)卸除氣缸內的積水 (C)讓壓縮過程延遲到馬達建立轉速後才開始 (D)確保壓縮機中線一致
15.若並聯兩部三相同步發電機其功率計(Watt meter)原先讀數相同,當負載變動後,其讀數出現 差異時,其原因為: (A)千瓦數較高之發電機其相位曾經超前,導致分擔之有效功率較高 (B)千瓦數較高之發電機其相位曾經落後,導致分擔之有效功率較高 (C)千瓦數較高之發電機其電壓曾經較高,導致分擔之有效功率較高 (D)千瓦數較高之發電機其電壓曾經較低,導致分擔之有效功率較高
16.若機艙溫度下測得PT100之感溫電阻值接近0Ω表示: (A)PT100內有斷路現象 (B)PT100內有短路現象 (C)PT100為正常 (D)三用電錶之電池沒電而致錯誤顯示
17.鍋爐水管歲檢時,其水壓試驗的爐水溫度不可高於多少°F? (A)150 (B)160 (C)170 (D)180
18.為預防鍋爐壓力上升高於安全限制,需裝設何種閥? (A)吹放閥 (B)指示閥 (C)壓力閥 (D)安全閥
19.下列何者不是燃燒器突然熄火的原因? (A)燃油櫃內有大量積水 (B)燃燒器因溫度太高超量碳化,致使噴油嘴被碳等固體物質填塞 (C)管路中之油氣化帶入燃燒器內 (D)空氣量過多
20.船軸不包括下列那一項? (A)推力軸 (B)中間軸 (C)艉軸 (D)曲柄軸
21.中間軸承有下列何情形時不應採用重澆白合金方法修復? (A)產生腐蝕 (B)嚴重燒熔 (C)嚴重脫殼或大面積剝落 (D)嚴重裂紋
22.上舵承(Upper rudder bearing)一般常採用下列何種軸承? (A)鐵梨木滑動軸承 (B)白合金滑動軸承 (C)滾動軸承 (D)整體襯套式軸承
23.柴油機曲柄軸箱內滑油發生乳化,失去潤滑的性能,這是由於滑油系統中漏入何者所致? (A)海水或淡水 (B)燃油 (C)燃燒廢氣物 (D)金屬碎屑
24.在維修工作當中,用以清除零件表面上水垢的方式為何? (A)熱水清洗 (B)鹼洗 (C)酸洗 (D)煤油浸泡
25.拆卸機器之前,為能確保順利進行拆卸,除了應備妥起重設備和物料外,還包括以下何者? (A)拆卸工具 (B)替代拆卸程序 (C)所需油料 (D)啟動用壓縮空氣
26.進行輪機維修時,若機件表面附著厚重的積碳、鐵銹、和水垢,則最適合採用以下何種方法進行 清除? (A)以清水清洗 (B)以機械方法清除 (C)以化學藥劑清除 (D)以油清洗
27.進行輪機維修時,若需對機件表面進行常規清洗,則大多採用以下何種溶液? (A)汽油 (B)煤油 (C)重燃油 (D)潤滑油
28.在燃油黏度控制系統中,若使用通過毛細管進出口之壓力差作為黏度量測訊號,則當毛細管出口 出現堵塞時,最終燃油的實際黏度會: (A)持續的上升 (B)持續的下降 (C)維持在堵塞瞬間之黏度值 (D)黏度值出現追逐式(Hunting)的變動
29.關於電磁式繼電器(Magnetic contactor)之鐵芯(Iron core),因故不能吸合,時間久了會造 成: (A)直流之電磁繼電器之線圈發熱,嚴重時會燒毀線圈,交流繼電器則不會損壞 (B)交流之電磁繼電器之線圈發熱,嚴重時會燒毀線圈,直流繼電器則不會損壞 (C)交流及直流電磁繼電器兩者之線圈均會發熱,嚴重時線圈均會燒毀 (D)交流及直流電磁繼電器兩者雖不能正常工作,但尚不會損害
30.單軸船舶軸系圖中所示⑶之部分名稱為:
(A)中間軸 (B)中間軸承 (C)推進軸 (D)艉軸套
31.攝氏溫度的刻度1℃與絕對溫度上的刻度1 K相比,其大小情形為何? (A)前者大於後者 (B)二者相等 (C)前者小於後者 (D)不能比較
32.兩物體a、b若動能相同,速度比v
a
: v
b
= 1:2,則質量比 m
a
: m
b
= ? (A)1:4 (B)1:2 (C)2:1 (D)4:1
33. 下列何者會使得柴油機的燃燒延遲時間縮短? (A)增加進氣溫度 (B)降低缸套水的溫度 (C)降低燃料之十六烷數 (D)使燃料的霧化變差
34.下列何者會導致廢氣渦輪增壓機的過給壓力高於正常值? (A)迷宮密封迫緊漏洩 (B)噴嘴環損壞 (C)排氣背壓太高 (D)柴油主機出力高於預期
35.進行下列何種材料試驗時不會對船舶材料造成損傷? (A)衝擊試驗 (B)彎曲試驗 (C)抗拉強度試驗 (D)磁性探傷試驗
36.在主機遙控系統中,能進行強制制動的情況是指下列何者? (A)正常停俥時 (B)緊急停俥時 (C)緊急倒俥時 (D)在運行中完成換向時
37.水管鍋爐中燃氣阻板(Gas baffles)的主要目的為何? (A)改變燃氣方向 (B)控制溫度 (C)減少擾流效應 (D)減低燃氣流速
38.圖示螺槳中⑶之部分的名稱為:
(A)推力緣 (B)前緣 (C)止動緣 (D)後緣
39. 可控距螺槳系統圖中,所示⑵之部分的名稱為:
(A)推進軸 (B)艉軸套管 (C)液壓油護管 (D)控制閥桿
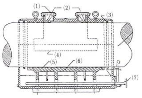
40.油環潤滑的線軸軸承圖中所示⑷之部分的名稱為:
(A)滑油分配道 (B)冷卻水道 (C)通氣道 (D)防止轉動鍵槽
申論題 (0)
相關試卷
115年 - 115-1 航海人員測驗_二等管輪:輪機保養與維修概要(包括輪機基本知識)#138329
115年 · #138329
115年 - 115-1 航海人員測驗_一等管輪:輪機保養與維修概要(包括輪機基本知識)#137835
115年 · #137835
114年 - 114-3 航海人員測驗_三等管輪(新):輪機保養及維修#133731
114年 · #133731
114年 - 114-4 航海人員測驗_二等管輪:輪機保養與維修概要(包括輪機基本知識)#133725
114年 · #133725
114年 - 114-3 航海人員測驗_二等管輪:輪機保養與維修概要(包括輪機基本知識)#130415
114年 · #130415
114年 - 114-2 交通部航港局_船員岸上晉升適任性評估筆試測驗_三等管輪(新):輪機保養及維修#128996
114年 · #128996
114年 - 114-2 交通部航港局_船員岸上晉升適任性評估筆試測驗_三等管輪(新):輪機概論#128995
114年 · #128995
114年 - [無官方正解]114-2 航海人員測驗_二等管輪:輪機保養與維修(包括輪機基本知識)#128258
114年 · #128258
114年 - 114-1 交通部航港局_船員岸上晉升適任性評估筆試測驗_三等管輪(新)﹕輪機保養及維修#126804
114年 · #126804
114年 - 114-1 航海人員測驗_二等管輪:輪機保養與維修概要(包括輪機基本知識)#125850
114年 · #125850