阿摩線上測驗
登入
首頁
>
鐵路◆機械原理大意(概要)
> 102年 - 102年士級晉佐級機械原理大意#43890
102年 - 102年士級晉佐級機械原理大意#43890
科目:
鐵路◆機械原理大意(概要) |
年份:
102年 |
選擇題數:
0 |
申論題數:
6
試卷資訊
所屬科目:
鐵路◆機械原理大意(概要)
選擇題 (0)
申論題 (6)
【已刪除】一、如圖 1 所示,一樑(beam)的兩端由兩相同的彈簧所支撐。當無外力作用時,樑呈 水平狀態,兩端彈簧可視為自然無變形狀況。若各彈簧之剛性(stiffness)均為 k = 5 kN / m ,當有 800 N 之向下力作用於樑上 C 點時,求樑之傾斜角度。(20 分)
試求:⑴繩索位於 C 處之張力為多少 N?(10 分)
⑵銷(pin)A 處之水平和垂直反作用力分量各為多少 N?(10 分)
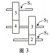
【已刪除】三、如圖 3 所示,假設軸 S
3
與軸 S
1
之轉速比要求為 2/15,試設計一輪系,在 S
3
與 S
1
間 插入一中間軸 S
2
,各齒輪之齒數均不得小於 12(可為 12),請選定齒輪 5、齒輪 4、 齒輪 3 和齒輪 2 之齒數各需多少。(20 分)
【已刪除】四四、如圖 4 所示,有一輪徑 250 mm 之塊式制動器,其摩擦係數為 μ s = 0.3 ,欲將轉矩 T = 622 kg.cm 之順時鐘轉動輪完全制止不動,請問需加於把手右端的 P 力為多少 kg?(20 分)
【已刪除】五、如圖 5 所示,有一 24 mm × 16 mm × 80 mm(W×h×L)之方鍵,裝於直徑 D = 80 mm 之軸上,若該軸承受 2800 kg. 之扭矩,求方鍵所受之剪應力與壓應力各為多少 cm kg/mm
2
。(20 分)
相關試卷
114年 - 114 國營臺灣鐵路股份有限公司花蓮機務段_從業人員甄試試題_第10階助理技術員:機械原理概要#133331
114年 · #133331
113年 - 113-2 國營臺灣鐵路股份有限公司_從業人員甄試試題_第10階-助理技術員-機械:機械原理概要#137200
113年 · #137200
113年 - 113-2 國營臺灣鐵路股份有限公司_從業人員甄試_第 11階-服務員-機械:機械原理大意#137071
113年 · #137071
113年 - 113 國營臺灣鐵路股份有限公司_從業人員甄試_第 10 階-助理技術員-機械:機械原理概要#118984
113年 · #118984
113年 - 113 國營臺灣鐵路股份有限公司_從業人員甄試_第 11階-服務員-機械:機械原理大意#118980
113年 · #118980
112年 - 112 鐵路特種考試_佐級_機械工程:機械原理大意#114931
112年 · #114931
111年 - 111 交通事業公路升資考試_士級晉佐級_技術類(選試機械原理大意):機械原理大意#111594
111年 · #111594
111年 - 111 鐵路特種考試_佐級_機械工程、機檢工程:機械原理大意#108596
111年 · #108596
110年 - 110 交通事業公路升資考試_士級晉佐級_技術類(選試機械原理大意)-公路:機械原理大意#103501
110年 · #103501
110年 - 110 鐵路特種考試_佐級_機械工程、機檢工程:機械原理大意#101593
110年 · #101593