阿摩線上測驗
登入
首頁
>
鋼筋混凝土學與設計
> 102年 - 102 高等考試_三級_土木工程:鋼筋混凝土學與設計#29920
102年 - 102 高等考試_三級_土木工程:鋼筋混凝土學與設計#29920
科目:
鋼筋混凝土學與設計 |
年份:
102年 |
選擇題數:
0 |
申論題數:
4
試卷資訊
所屬科目:
鋼筋混凝土學與設計
選擇題 (0)
申論題 (4)
一、一矩形梁寬 40 cm,有效深度 60 cm,拉力筋為 6 支 D29(A
b
=6.47 cm
2
),混凝土 強度
fc ′
=280 kgf/cm
2
,鋼筋降伏強度
fy
=4200 kgf/cm
2
,求φ 及 M
n
,並與土木 401-100 規範相關規定比較。(25 分)
【已刪除】二、一簡支矩形梁位於一般樓層,跨度為 10 m,承載靜載重(含自重)1.0 tf/m 與活載 重 2.0 tf/m,試求由活載重所產生之即時撓度。(25 分) (已知 Ec=2.5×10
5
kgf/cm
2
,彈性模數比 n=8,I
cr
=395680 cm
4
,I
g
=540000 cm
4
,
f ′ c
=280 kgf/cm
2
,
fy
=4200 kgf/cm
2
,拉力鋼筋 A
s
=40.54 cm
2
,壓力鋼筋 A's =8.60 cm
2
) I
e
=(Mcr /Mα)
3
×I
g
+[1 – (Mcr /Mα)
3
] × I
cr
三、淨跨度為 6 m 之簡支矩形梁,梁寬 35 cm,總梁深為 65 cm,淨保護層為 4 cm。此 梁承載均佈靜載重(含自重)2.0 tf/m、均佈活載重 3.0 tf/m 及 30 tf 集中活載重作用 於跨距中間點。若箍筋採用 D10(d
b
=0.95 cm,A
b
=0.71 cm
2
),主筋為 D25(d
b
=2.54 cm,A
b
=5.07 cm
2
) 單層排列,試求距支承 50 cm 與 300 cm 處所能容許之剪 力筋最大間距。(
f ′
c
=280 kgf/cm
2
,
fy
=2800 kgf/cm
2
)(25 分)
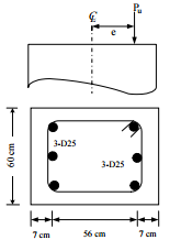
【已刪除】四、如下圖所示之鋼筋混凝土橫箍柱,承受一偏心集中載重 P
u
=250
tf
,若此柱配置 6 支 D25 縱向鋼筋,試決定此柱所能承受之最大設計彎矩 M
u
。(25 分) (混凝土強度
f ′c
=280 kgf/cm
2
,鋼筋降伏強度
fy
=4200 kgf/cm
2
,D25 A
b
=5.07 cm
2
, d=63 cm,d'=7 cm)
相關試卷
114年 - 114 地方政府公務、離島地區公務特種考試_三等_土木工程:鋼筋混凝土學與設計#134753
114年 · #134753
114年 - 114 高等考試_三級_土木工程:鋼筋混凝土學與設計#128726
114年 · #128726
113年 - 113-2 國營臺灣鐵路股份有限公司_從業人員甄試試題_第9階-技術員-土木工程:鋼筋混凝土學與設計概要#137156
113年 · #137156
113年 - 113 國營臺灣鐵路股份有限公司_從業人員甄試_第8階-助理工程師-土木工程:鋼筋混凝土學與設計#137104
113年 · #137104
113年 - 113-2 國營臺灣鐵路股份有限公司_從業人員甄試_第8階-助理工程師-土木工程:鋼筋混凝土學與設計#137090
113年 · #137090
113年 - 113-2 國營臺灣鐵路股份有限公司_從業人員甄試_第 9 階-技術員-土木工程:鋼筋混凝土學與設計概要#135450
113年 · #135450
113年 - 113 地方政府公務、離島地區公務特種考試_三等_土木工程:鋼筋混凝土學與設計#124342
113年 · #124342
113年 - 113 高等考試_三級_土木工程:鋼筋混凝土學與設計#121483
113年 · #121483
113年 - 113 國營臺灣鐵路股份有限公司_從業人員甄試_第 9 階-技術員-土木工程:鋼筋混凝土學與設計概要#119089
113年 · #119089
112年 - 112 地方政府特種考試_三等_土木工程:鋼筋混凝土學與設計#118382
112年 · #118382