【已刪除】三、發明摘要。(5 分) 下列附有發明人的 6 個構想圖,請配合該等構想圖之內容以及所提供之圖號、元件
符號、符號說明等資料,撰寫一份完整的發明專利說明書。
撰寫申請專利範圍至少包含 2 個獨立項,8 個附屬項,其範圍應涵蓋所提供發明人的
構想圖之全部實施態樣,且不可有任二項實質範圍相同之請求項;又附屬項中至少
包括 1 個詳述式附屬項、1 個附加式附屬項以及 1 個多項附屬項;另請於各請求項
句點後用括號註記該項屬於何種類型之請求項,例如:(獨立項)、(詳述式附屬
項)、(附加式附屬項)、(多項附屬項)。
撰寫摘要以不超過 250 字為原則。
【發明人想要解決的問題】
水耕栽培是一種不藉由土壤作為介質提供養分,而是將水混合營養成分、空氣提供至
植物的根域,便能直接供應植物生長所需的養分,以藉此擺脫傳統農業所必需的農
田地面,而且所使用的水能夠停留在系統中重複使用,相對土耕較為省水。但水耕
栽培仍有許多缺點有待改進,例如:水耕栽培雖能重複使用供給的水,但還是需要
相當多的水量,而且植物的根部浸泡在水中,也容易因為濕度過高造成根部生病。
因此,先前有人於培育裝置中進一步將混合營養成分水霧化,再供應至植物的根域,
但發明人發現該先前技術仍有不足之處有待改進,其原因在於:該先前技術僅能提
供單一條件的給霧量及頻率,因此只適用於栽種單一植物,並不利栽種的多樣化,另
該先前技術不具環境條件控制的功能,難以提供植栽最佳的種植環境。
【發明人解決問題的方案】
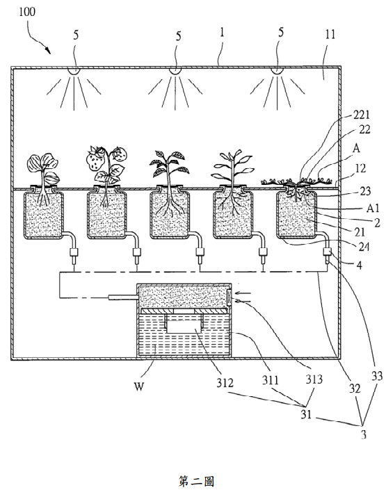
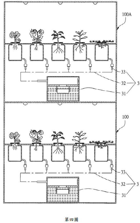
為了解決上述先前技術霧耕用培育裝置不足之處,發明人提出一種隔離式給霧之植
物培育箱之創新發明,其至少包含:一箱體、複數中空容器、一給霧裝置及複數控
制閥等構件,並藉由調整控制閥調整適合的霧氣供給流量及頻率,達到控制環境條
件的功能,以提供最佳的種植環境及植栽多樣化之目的;另發明人同時設計出三種
實施態樣,詳參下列構想圖,其中第一、二、三、四圖為第一實施例,第五圖為第
二實施例,第六圖為第三實施例。
【發明人的構想圖】(共 6 圖)
