阿摩線上測驗 登入

110年 - 110 專技高考_專利師:專利代理實務#100743

科目:專利代理實務 | 年份:110年 | 選擇題數:0 | 申論題數:6

試卷資訊

所屬科目:專利代理實務

選擇題 (0)

申論題 (6)

一、請依系爭專利(參見附件1)申請前已公開之證據1(參見附件2)及 證據2(參見附件3),對下列各請求項論述是否有專利無效之情事, 所撰寫舉發理由書須依專利審查基準的論理方式為之。 (60分;獨立項部分為15分,其餘9項附屬項每項各為5分) 請求項
1.一種扳手之螺帽定位結構,其包括:一扳手,其包括有一頭部及一 柄部,該頭部具有一容置空間;一制動裝置,其包括有至少一定位 件,該定位件呈一片體狀,且該定位件設於該扳手上而凸伸至該容 置空間之區域。
2.如申請專利範圍第1項所述扳手之螺帽定位結構,其中該容置空間 為一開放空間、環封空間或其他形式之容置空間。
 3.如申請專利範圍第1項所述扳手之螺帽定位結構,其中該定位件以 固定式或活動式設於該扳手。
4.如申請專利範圍第1項所述扳手之螺帽定位結構,其中該定位件以 一定置元件以鉚接、螺接、樞接或其他方式設置於該扳手。
5.如申請專利範圍第4項所述扳手之螺帽定位結構,其中該扳手之二 側面上分別設有該定位件。
6.如申請專利範圍第1項所述扳手之螺帽定位結構,其中該容置空間 內設有複數定位契合面,該定位契合面為直面、弧面、曲面或其組合。
7.如申請專利範圍第1項所述扳手之螺帽定位結構,其中該定位件為 一金屬片體。
 8.如申請專利範圍第7項所述扳手之螺帽定位結構,其中該定位件為 一具磁性之金屬片體。
9.如申請專利範圍第1項所述扳手之螺帽定位結構,其中該扳手適當 位置或該容置空間進一步設有一照明裝置,該照明裝置係為一 LED 燈。
10.如申請專利範圍第1項所述扳手之螺帽定位結構,其中該定位件設 於該頭部。
(三)修正前之說明書、申請專利範圍與圖式:
[新型名稱]偵測裝置
[申請專利範圍]
 一種偵測裝置,包含一偵測電路、一紅外線發射器、一紅外線接收器 及一警報器;其中該偵測電路分別連接該紅外線發射器及紅外線接收 器,另該警報器連接該偵測電路,當紅外線發射器發射紅外線接觸物 體後反射至紅外線接收器,啟動該偵測電路作動並使該警報器發出聲 響。
[說明書]揭露「偵測裝置」之必要構件及其連結關係。
[圖式]揭露「偵測裝置」之必要構件及其連結關係。
 修正後之說明書、申請專利範圍與圖式:
[新型名稱]偵測裝置包裝結構
 [申請專利範圍]
 一種偵測裝置包裝結構,該包裝結構包含一紙盒以容置一緩衝單元與 一容置外殼;其中,該容置外殼,係具有與欲包裝的偵測裝置相對應 外形之一上紙模外殼及一下紙模外殼;該緩衝單元,設於該容置外殼 與該紙盒內壁之間。
[說明書]
 記載之內容變更為「偵測裝置包裝結構」,並揭露其必要構件及必要 構件間之連結關係。
[圖式]
記載之內容變更為「偵測裝置包裝結構」,並揭露其必要構件及必要 構件間之連結關係。 (10分)                                                系爭專利
                        附件1 發明專利名稱;扳手之螺帽定位結構
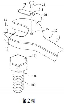
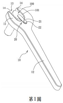
 第1至3圖,係本發明第一實施例,其包括有一扳手(10)及制動裝置 (20),該扳手(10)包括有一頭部(11)及柄部(12),該頭部(11)具有一容置空 間(13),該容置空間(13)可為一開放空間,如實施於開口扳手。在其他種 類扳手之實施方式中,該容置空間(13)可為一環封空間或其他形式之容置 空間,用以設置所欲操作之螺桿、螺帽或其他施工件,該容置空間(13)內 設有複數定位契合面(14),該定位契合面(14)可為直面、弧面、曲面或其 組合,並不所拘限。該頭部(11)在該容置空間(13)之後端[即柄部(12)方向] 設有一固定孔(15),該固定孔(15)用以設置該制動裝置(20),而該固定孔 (15)之位置亦可設於該頭部(11)的其他適當部位,該柄部(12)連接該頭部 (11),用以便利旋轉操作施力。該制動裝置(20)設於該扳手(10)之一側面上, 該制動裝置(20)、固定孔(15)係設於頭部(11)處,但位置並非所限,例如設 於柄部(12)處而接近頭部(11)亦可,該制動裝置(20)包括有一定位件(21)及 定置元件(22),該定位件(21)可為一片體構成,該定位件(21)可為一金屬片 體或其他材質之片體,當該定位件(21)為金屬片體時,其可為具磁性之金 屬片體。該定位件(21)上設有一定位孔(211),該定位孔(211)對應該頭部 (11)之固定孔(15),並以該定置元件(22)穿設定位而將該定位件(21)定位設 置於該扳手(10)之頭部(11)上,且使該定位件(21)得以相對凸伸至該容置空 間(13)之區域。該定位件(21)可以固定式或活動式設於該扳手(10)之頭部 (11),因此該定置元件(22)可為鉚釘、螺桿件、樞接件或其他類型定置元 件,使該定位件(21)係可以鉚接、螺接、樞接或其他方式設置於該扳手(10) 之頭部(11)。再者,該扳手(10)上進一步設有一照明裝置(圖未示出),該照 明裝置可為一 LED 燈,該照明裝置可設於該扳手(10)之頭部(11)或柄部 (12),亦可設於該頭部(11)之容置空間(13)內壁適當位置,用以提供該扳手 (10)操作時,針對螺帽(或其他工件)於該容置空間之套設、定位契合或操 作環境空間,得以提供較佳之照明。參閱第2、3圖,當該定位件(21)以活 動式設置於該扳手(10)上時,該扳手(10)之容置空間(13)套設於一螺桿 (100)之螺帽(101)處,而該螺桿(100)之螺桿部(102)係位於該容置空間(13) 下方,此時該螺帽(101)嵌合於該容置空間(13)處之定位契合面(14),產生 可嵌結旋動之狀態,繼旋動該定位件(21),使該定位件(21)從上壓抵該螺 桿(100)之螺帽(101),用以增加該扳手(10)對螺帽(101)操作時之穩定性,可 防止施力操作中該螺帽(101)之向上或該扳手(10)之頭部(11)向下而導致相 互錯位、脫離之狀態,而當施工完成或不需該定位件(21)輔助壓抵之情況 下,該定位件(21)即可旋轉離開相對該容置空間(13)之區域。 
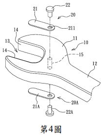
       第4圖,係本發明扳手之螺帽定位結構第二實施例,該扳手(10)之頭部 (11)二側面上分別設有一制動裝置(20)(20A),亦即,定位件(21)(21A)分別 藉定置元件(22)(22A)而鉚接、螺接、樞接或其他方式設置於該頭部(11)二 側面之固定孔(15)處,如此,該扳手(10)操作時可隨著施工件旋轉方向或 施工空間環境之需求,得以正、反面變換該扳手(10)之套設及施力方向, 再將位於相對操作面[即螺帽部(101)]上方之定位件(21)旋動出(或推動出) 而從上壓抵該螺桿(100)之螺帽(101),用以增加該扳手(10)對螺帽(101)操 作時之穩定性,提供更佳之操作彈性及扳手雙面互換皆具穩定壓持之便利 性,可防止施力操作中該扳手(10)之頭部(11)與施工件(例如螺帽)於施工操 作中產生錯位、脫離之現象。 
       第5圖,係本發明扳手之螺帽定位結構第三實施例,其基於第一實施 例之結構基礎上加以變化設置,其差異在於:該定位件(21)上設有一長槽 狀之作動槽(212),該作動槽(212)供該定置元件(22)以鉚接、螺接、樞接或 其他方式設置於該扳手(10)之頭部(11)上,如此,該定位件(21)可藉該作動 槽(212)進行伸縮於該容置空間(13)區域之滑動,即當該扳手(10)之容置空 間(13)套設於該螺桿(100)之螺帽(101)時,移動凸伸出該定位件(21)使其壓 抵該螺桿(100)之螺帽(101),同樣得以增加該扳手(10)對螺帽(101)操作時 之穩定性,而可防止施力操作中該螺帽(101)之向下或該扳手(10)之頭部 (11)向上而導致相互錯位、脫離之狀態。 
       第6圖,係本發明扳手之螺帽定位結構第四實施例,該頭部(11)之兩側 面上分別設有凹入面(111),該凹入面(111)係為較該頭部(11)之側面凹下之 平面,且該凹入面(111)係自該容置空間(13)處至少延伸涵蓋至該定位件 (21)(21A)之區域處,當該定位件(21)(21A)藉定置元件(22)(22A)而鉚接、螺 接、樞接或其他方式設置於該頭部(11)側面之固定孔(15)處時,該定位件 (21)(21A)之頂部約與該頭部(11)之側面為同一平面;如此,當該扳手(10) 於正面操作時(其反向操作時亦然),其反面之定位件(21)(21A)頂部約與該 頭部(11)之側面為同一平面,而可將施工件旋轉更多進程,而使該施工件 更緊密接觸被施工物。 
      第7圖,本發明所實施應用之扳手(10)係可包括不同種類之扳手,如圖 所示,該扳手(10)為一梅花扳手,同時本發明亦可實施於包括複合式扳手、 活動扳手、套筒扳手或其他形式之扳手。
 
 【符號說明】 10—照明控制裝置;11—模組化開關電路;111—按壓式開關元件; 112—導電片;113—電池;114—導電腳;115—發光元件;116—貫孔; 12—外殼;121—本體;122—電池盒蓋;123—本體卡槽;124—盒蓋凸緣; 125—開關元件孔;126—按壓凹槽;127—貫孔;20—開口扳手;21—操作端; 211—開 口 ; 22—握 持 柄 ; 221—容 置 槽 ; 222—通 道 ; 223—螺 孔 ; 30—螺栓。
612c56e725c57.jpg612c5706d037e.jpg612c57b2d1264.jpg612c57d772415.jpg