所屬科目:輪機保養與維修(概要)(包括輪機基本知識)
2. 下圖為引擎維修保養說明書上之燃油閥(噴油嘴)圖,又稱為何種圖形? (A) 結構圖 (B) 組合圖 (C) 實體構造圖 (D) 分解組合圖
16. 下列哪一種工具,是配合「攻製母螺牙工具」所使用的手工具? (A) A (B) B (C) C (D) D
18. 如圖,鑽頭中「鑽槽」的主要功能為何? (A) 排屑之用 (B) 抵抗「鑽削」之力量 (C) 使形成「鑽唇角」 (D) 使形成「鑽唇間隙角」
20. 如下圖,柴油機的特別工具,有何功用? (A) 缸套測量工具 (B) 活塞吊出工具 (C) 缸套吊出工具 (D) 高壓油泵吊出工具
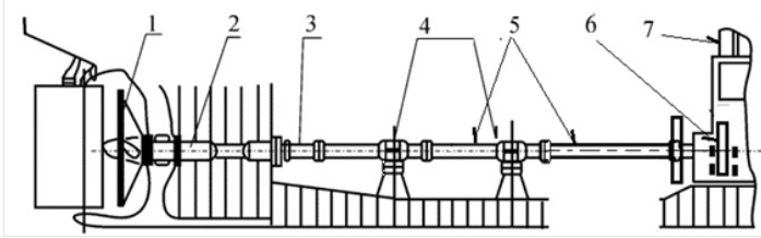
31. 船舶推力軸系以下所示2及3為何? (A) 尾軸管&尾軸 (B) 中間軸承&中間軸 (C) 推力軸承&推力軸 (D) 螺槳軸&螺槳軸承