所屬科目:技檢◆陶瓷手拉坯-丙級
5. 如左圖所示之前視圖,下列何者正確?(A) (B) (C) (D)
17. 下圖中的修坯座,較適用於(A)長頸瓶修底(B)直桶修底(C)陶碗修底(D)圓瓶修底。
30. 尺寸標註時,直徑的標示符號為(A)α(B)(C)γ(D)β。
66. 下圖為一部真空練土機,標示 E 的構造是(A)擠出口(B)出氣口(C)入土口(D)排水口。
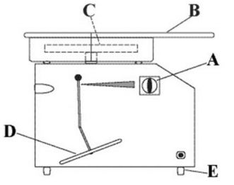
72. 下圖為一部拉坯機(轆轤),標示 B 的位置是(A)工作台面(B)集泥盤(C)轉盤(D)機台台面。
79. 下列那一件作品造形與拉坯技法無關? (A) (B) (C) (D)