阿摩線上測驗
登入
首頁
>
(工業)安全工程
> 111年 - 111 地方政府特種考試_三等_職業安全衛生:安全工程#112364
111年 - 111 地方政府特種考試_三等_職業安全衛生:安全工程#112364
科目:
(工業)安全工程 |
年份:
111年 |
選擇題數:
0 |
申論題數:
4
試卷資訊
所屬科目:
(工業)安全工程
選擇題 (0)
申論題 (4)
一、空氣清淨裝置依所處理之污染物予以分類,可分為除塵裝置與廢氣處理 裝置,在選擇除塵裝置時,有那些方面需要注意,試說明之。(25 分)
二、在釋壓裝置的種類中,破裂盤(rupture disk)為其中之一,請解釋其功用及原理。 (5 分)通常破裂盤會與彈簧釋壓設備串聯或並聯使用,其目 的為何?(20 分)
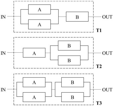
三、請計算圖中各組態系統(T1、T2 及 T3)之可靠度並比較三者可靠度之高低,假設各零組件所發生之故障皆為互相獨立事件,且 R(A)=0.9,R(B)=0.86。(25 分)
四、對於危險性設備中壓力容器製造或使用階段中的檢查,主要是以非破壞性檢測(NDE or NDT)技術為主,最常用的非破壞性檢測技術有那些? (25 分)
相關試卷
114年 - 114 地方政府公務特種考試_三等_職業安全衛生:安全工程#134667
114年 · #134667
114年 - 114 地方政府公務特種考試_四等_職業安全衛生:安全工程概要#134656
114年 · #134656
114年 - 114 專技高考_工業安全技師:工業安全工程#133644
114年 · #133644
114年 - 114 高等考試_三級_職業安全衛生:安全工程#128736
114年 · #128736
113年 - 113 地方政府公務特種考試_三等_職業安全衛生:安全工程#124559
113年 · #124559
113年 - 113 地方政府公務特種考試_四等_職業安全衛生:安全工程概要#124345
113年 · #124345
113年 - 113 中央印製廠新進人員_甄試試題:工業安全工程#123105
113年 · #123105
113年 - 113 高等考試_三級_職業安全衛生:安全工程#121509
113年 · #121509
113年 - 113 普通考試_職業安全衛生:安全工程概要#121155
113年 · #121155
112年 - 112 臺灣菸酒股份有限公司從業職員及從業評價職位人員甄試_從業職員/職業安全衛生管理_專業科目 3:安全工程#137484
112年 · #137484