所屬科目:機械原理(機械概論、大意)
二、如下圖所示之牛頭鉋床急回機構,曲柄BC做等速逆時針旋轉,鉋刀 (滑塊)6往復來回一次需時6秒。已知曲柄BC長為10cm,樞軸A 與B的距離為20cm,試列式計算該機構的自由度及求出每次切削行程的時間。(20分)
(二)有一根四線螺紋之螺旋,其螺距為2mm,導程角為α,且試求其節圓直徑。(10分)
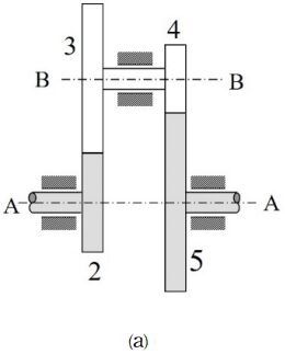
四、如下圖(a)與(b)所示之二個機構,計算出二個機構的機件數與各種運動對的數目,並列式計算該機構的自由度。(20分)