所屬科目:統測◆01機械群◆(二)機械製造、機械基礎實習、製圖實習
17. 如圖 ( 一 ) 所示右手握銼刀柄,左手握銼刀前端,銼削過程中,保持水平推出銼刀,下列各段 ( ① 為前段、②為中段、③ 為後段 ) 銼削給予銼刀之右手與左手壓力分配百分比何者正確? (A) ① 約30:70、②約50:50、③約70:30 (B) ① 約30:70、②約70:30、③約50:50 (C) ① 約70:30、②約50:50、③約30:70 (D) ① 約70:30、②約30:70、③約50:50
29. 有關氬銲(TIG)進行起弧銲接如圖(二)所示,其中①為鎢棒與母材距離、②為銲槍與母材角度,下列何者操作條件最正確? (A) ①為約1mm、②為 5 °~10 ° (B) ①為約1.5mm、②為10 °~15° (C) ①為約2mm、②為 20 °~30 ° (D) ①為約4mm、②為 30 °~40 °
31. 有關手工電銲進行平銲採取織動法,如圖 ( 三 ) 所示,① 為工作角度、② 為移行角度, 下列何者操作條件最正確? (A) ①為90 °、②為 70°~85 ° (B) ①為 100 °、②為 50 °~65 ° (C) ①為 110 °、②為 40 °~55 ° (D) ①為 120 °、②為 30 °~45 °
37. 物件可利用投影法繪製出三視圖,下列何者為一物件正確的三視圖(第三角法)? (A)(B)(C)(D)
38. 如圖(四)所示為一物件之正投影三視圖(第三角法),已知俯視圖與前視圖,下列何者為正確的右側視圖? (A)(B)(C)(D)
40. 根據工程製圖尺度標註,下列何者正確? (A)(B)(C)(D)
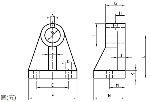
41. 如圖(五)所示,針對已標註的尺度A至N中,屬於位置尺度的共有幾個? (A) 3 (B) 4 (C) 5 (D) 6
42. 根據工程製圖的剖面視圖畫法,下列何者正確? (A)(B) (C)(D)
45. 下圖(六)為一物件的正投影視圖(第三角法),以輔助視圖TS表達斜面a b c的實形,下列何者為正確的輔助視圖TS? (A)(B)(C)(D)
46. 如圖(七)所示為一物件的前視圖與俯視圖(第三角法),下列何者為正確的左側視圖? (A)(B)(C)(D)
47. 管制階級桿全部中心軸線的真直度,使其公差區域須限制在直徑∅0.03的圓柱體內,下列何者為正確之幾何公差標註?(A) (B)(C) (D)
49. 圖面中③與④處的外徑表面粗糙度為Ra 0.8,其圖面表面織構符號何者正確? (A)(B) (C)(D)
50. 工程師要在品質會議簡報上,呈現該檢測孔每天不合格件數圖,使用下列何種類型管制圖表示最正確? (A)(B)(C)(D)