所屬科目:建築構造與施工(設備)
1 木材作為結構材料時應注意木紋斜率(tan θ),為達到受彎木料的最佳應力,下列何者正確?(A)在 1/10 以下 (B)約 1/5 (C)約 1/4 (D)在 1/3 以上
26 日式木造建築中,此種榫接形式通常須由側面擊入兩支水平木栓,其主要作用為何?(A)防止榫接部位受垂直剪力作用而脫榫 (B)抵抗垂直載重造成的彎矩 (C)抵抗水平剪力 (D)抵抗軸拉力
31 下列之圖例,最有可能是那一種工法?(A) SSG 工法(Structural Sealant Glazing) (B) MPG 工法(Metal Point Glazing) (C) DPG 工法(Dot Point Glazing) (D) MJG 工法(Minimum Joint Glazing)
58 下方詳圖為 15 cm RC 樓板上方鋪設隔音材料之詳圖,下列那種材料組合符合建築技術規則建築設計 施工篇第 46 條之 6 有關分戶樓板之衝擊音隔音構造?(A)a.橡膠緩衝材(厚度 0.4 cm 以上),b.架高地板其木質地板厚度合計在 1.2 cm 以上者,c.密度在 50 kg/m3以上、厚度在 5 cm 以上之玻璃棉、岩棉或陶瓷棉填充,d.橡膠緩衝材(厚度 0.4 cm 以上) (B)a.橡膠緩衝材(厚度 0.5 cm 以上),b.架高地板其木質地板厚度合計在 1.8 cm 以上者,c.密度在 55 kg/m3以上、厚度在 5 cm 以上之玻璃棉、岩棉或陶瓷棉填充,d.橡膠緩衝材(厚度 0.5 cm 以上) (C)a.橡膠緩衝材(厚度 0.5 cm 以上),b.架高地板其木質地板厚度合計在 2 cm 以上者,c.密度在 60 kg/m3 以上、厚度在 5 cm 以上之玻璃棉、岩棉或陶瓷棉填充,d.橡膠緩衝材(厚度 0.5 cm 以上) (D)a.玻璃棉緩衝材(厚度 0.6 公分以上),b.架高地板其木質地板厚度合計在 2 cm 以上者,c.密度在 60 kg/m3以上、厚度在 5 cm 以上之玻璃棉、岩棉或陶瓷棉填充,d.玻璃棉緩衝材(厚度 0.6 公分以上)
59 下列何者不符合有關建築物無障礙設施設計規範中通行寬度之規定?(尺寸單位:公分) (A)(B)(C)(D)
61 下圖為一種屋頂防水收頭的縱剖面圖,下列敘述何者錯誤?(A)①的主要功能包括支撐②,以防止②下垂開裂 (B)①的主要功能包括防止垂直面的防水層剝落 (C)②的主要功能包括防止水由防水層的端部進入 (D)①的主要功能包括保護垂直面的防水層,並且提供裝修材料一個較佳的黏著面
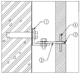
62 下圖為外牆石材乾掛工法常見作法的縱剖面圖,以下敘述何者錯誤?(A)①上通常有垂直方向的長孔,用以調整石材水平方向的位置 (B)②的主要功能是調整石材的進出面位置 (C)當③採用空縫設計(不填縫)時,①②④均應採用不生鏽之材質為宜 (D)④可在現場鑽孔或開槽
63 下圖為 RC 外牆龜裂誘發縫的橫剖面圖,以下敘述何者最不適當:(A)①②③皆須於灌漿前預埋接縫材(角材或其他斷面的材料),通常(d1+d2+d3)/d 須>0.2 才有誘發裂 縫的效果 (B)①是外牆外側裂縫預期產生的位置,應考慮適當的防水處理,例如彈性填縫劑 (C)②的目的是減低壁體強度以誘導應力集中,牆內預埋的水電管線也有類似效果 (D)外牆面採用磁磚裝修時,打底水泥砂漿及磁磚的厚度皆可以計入 d1,如此便能使磁磚縫與誘裂縫 對齊
79 假設某一建築工程之作業項目、作業時間及前置作業關係如下表所示,該建築工程最短總工期需要多 少日? (A) 11 (B) 12 (C) 13 (D) 14
80 依據下表「新砌 1/2B 磚牆」之單價分析表,試算新砌 1/2B 磚牆之工程單價每平方公尺多少元? (A) 2,923 元/m2 (B) 1,105 元/m2 (C) 705 元/m2 (D) 650 元/m2