複選題
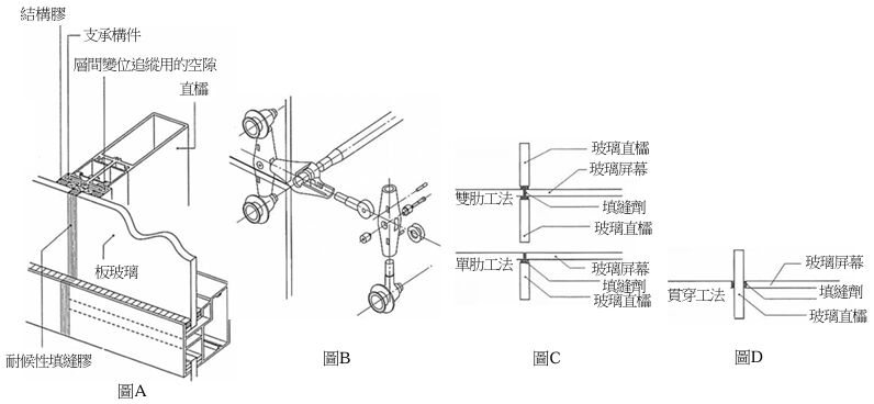
41 有關玻璃外牆(glass facade)之圖示之相關敘述,何者錯誤?
(A)圖 A:矽結構膠玻璃(SSG, Silicone Structural Glazing)架構工法,利用結構用膠將玻璃膠合於內支 撐構件,可以省略外側的直櫺,是特別強調玻璃立面的金屬帷幕牆工法 (B)圖 B:點支撐系統(DPG, dot point glazing)係以特殊鐵具點支撐玻璃、玻璃採用強化玻璃,以耐候 密封材料將玻璃埋入窗框之玻璃外牆(glass facade) (C)玻璃外牆可設計成玻璃直櫺為由玻璃點支撐系統(DPG, dot point glazing)所構成,包括圖 C 之雙 肋工法及單肋工法 (D)玻璃外牆可設計成玻璃直櫺為由玻璃點支撐系統(DPG, dot point glazing)所構成,包括圖 D 之貫 穿工法