所屬科目:技檢◆門窗木工-甲級
(A)鐵釘 (B)鋼釘 (C)鋁合金釘 (D)氣槍釘 。
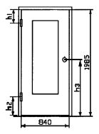
(A)a=1/3,b=2/3 (B)a=2/3,b=1/3 (C)a=1/2,b=1/2 (D)a、b 距離不一定 。
(A)A (B)B (C)C (D)D 。
(A)左側門 (B)右側門 (C)左右側不分 (D)無法判別 。
(A)普通鉸鏈 (B)H型鉸鏈 (C)阿努巴活葉 (D)鋼琴活葉 。
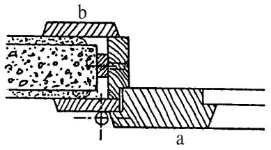
(A)a 為熱空氣,b 為冷空氣 (B)a 為冷空氣,b 為熱空氣 (C)a 為熱空氣,b 為熱空氣 (D)a 為冷空氣,b 為冷空氣 。
(A)室內門 (B)浴廁門 (C)室外門 (D)房間門 。
(A)4945CNS1051 (B)4594 CNS1051 (C)1051 CNS4945 (D)CNS1051 4945 。
(A)門之上下離門框翹曲 (B)門之上下緊密門框而中間翹離內框 (C)不會變形 (D)變形情形不一定 。
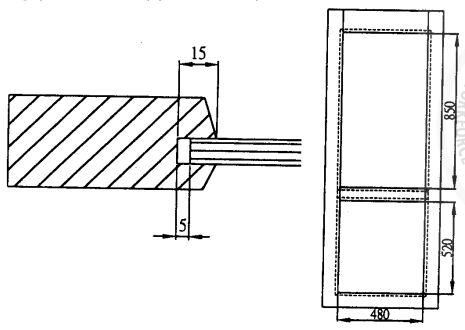
(A)100(B)150 (C)200 (D)250 。
(A)300 (B)250 (C)200 (D)150 。
(A)850(B)950 (C)1050 (D)1150 。
(A)(1.37+4×0.01)(0.48+2×0.01)×2 (B)(1.37-4×0.01)(4.8-2×10)×2 (C)1.37×0.48×2 (D)(1370-2×10)(480-2×10)÷1000 。