阿摩線上測驗
登入
首頁
>
研究所、轉學考(插大)◆工程力學
> 87年 - 87 淡江大學 轉學考 工程力學(含靜力學、材料力學、動力學)#56402
87年 - 87 淡江大學 轉學考 工程力學(含靜力學、材料力學、動力學)#56402
科目:
研究所、轉學考(插大)◆工程力學 |
年份:
87年 |
選擇題數:
0 |
申論題數:
7
試卷資訊
所屬科目:
研究所、轉學考(插大)◆工程力學
選擇題 (0)
申論題 (7)
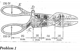
【已刪除】1. The upper blade and lower handle of the compoxmd-lever ;v shears are pin-connected to the main element ABE at A and B, respectively, and to the short link CD at C and D?、 respectively. Determine the: forces exerted on a twig when two 150N forces are applied to the handles..
【已刪除】2. Determine the horizontal force P required to raise the 200 Kg block, The coefficient of friction for all suifaces^ (10%) is 0.4,
【已刪除】3. A 2 Kg disk slides on a smooth horizontal table and is connected to an elastic cord whose tension is T=6r N , where r is the radial position of the disk in meters. If the disk is at r=l m and is given an initial velocity,of 4 m/s in the transverse direction, what are the magnitudes of the radial and transverse components of its velocity when r=2 m?
【已刪除】4. A homogeneous slender bar AS of mass m and length 'L is released from rest in the position shown. For this position,determine1 the acceleration of end A, the reaction at A, and the angular acceleration of the bar. Assume that the horizontal plane1 is smooth.
【已刪除】5. A cantilever beam of rectangular cross section is i subjected to a concentrated load at the free end. ! Calculate the principal stresses and the maximum •; in-plane shear stresses at point A
(a) derive the equation of the elastic curve,
(b) determine the maximimi deflection.
相關試卷
110年 - 110 國立臺灣科技大學_碩士班招生試題_營建工程系(丙組):工程力學#113276
110年 · #113276
110年 - 110 國立中央大學_碩士班招生考試_土木工程學系/力學與結構工程組(一般生):工程力學#105314
110年 · #105314
110年 - 110 國立台北科技大學碩士班招生考試_自動化科技研究所:工程力學#103349
110年 · #103349
110年 - 110 國立臺北科技大學_碩士班招生考試_機械工程系機電整合碩士班(乙組):工程力學#103348
110年 · #103348
110年 - 110 國立臺灣大學_碩士班招生考試_工程科學及海洋工程學研究所乙組:工程力學(動力學及靜力學)#100701
110年 · #100701
91年 - 91 淡江大學 轉學考 工程力學(含靜力學、材料力學、動力學)#56023
91年 · #56023