阿摩線上測驗
登入
首頁
>
機械設計
> 97年 - 97 原住民族特種考試_三等_機械工程:機械設計#38962
97年 - 97 原住民族特種考試_三等_機械工程:機械設計#38962
科目:
機械設計 |
年份:
97年 |
選擇題數:
0 |
申論題數:
5
試卷資訊
所屬科目:
機械設計
選擇題 (0)
申論題 (5)
一、請說明齒輪的各種可能之破壞原因(15 分);另請說明軸(Shaft)的各種可能之 破壞原因。(10 分)
【已刪除】二、下圖所示為一曲柄受 F=1200 N 之力,軸 AB 是由 AISI 1020 熱壓鋼製成,其降伏 強度為 210MPa。請以 A 點之應力狀況為依據用畸變能理論(Distortion Energy Theory)計算其安全係數為若干。(25 分)
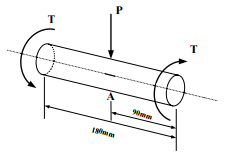
【已刪除】三、下圖所示有一軸,該軸不旋轉且為簡支撐(Simply supported),作用於該軸的外力 為靜(Steady)力。軸徑為 50 mm,軸長度為 180 mm。作用在中央的力為 9,000 N ,作用於軸兩端的扭矩相等各為 1,000,000 N-mm。請畫出元素 A 所受之應力,其中 A 元素是在軸中央的底面。(25 分)
四、⑴請說明液動軸承(Hydrodynamic bearing)的工作原理。(5 分)
⑵有一工程師的任務是選擇一球軸承來承受 5kN之徑向負載,其需求之L10壽命為 :在轉速 600 rpm下操作,可使用 1,200 小時。然而,軸承廠商型錄中之L10壽命 是以下述方式表示:在轉速 500 rpm下操作可使用 3,800 小時。請計算在查型錄 時,其所應使用之負載值為若干?(20 分)
相關試卷
115年 - 115 身心障礙特種考試_四等_機械工程:機械設計概要#138890
115年 · #138890
115年 - 115 身心障礙特種考試_三等_機械工程:機械設計#138882
115年 · #138882
114年 - 114 地方政府公務特種考試_三等_機械工程:機械設計#134728
114年 · #134728
114年 - 114 地方政府公務特種考試_四等_機械工程:機械設計概要#134719
114年 · #134719
114年 - 114 公務、關務升官等考試_薦任_機械工程、技術類(選試機械設計)-關務:機械設計#133265
114年 · #133265
114年 - 114 交通事業港務升資考試_員級晉高員級_技術類(選試機械設計)-港務:機械設計#133244
114年 · #133244
114年 - 114 高等考試_二級_機械工程:機械設計學#131583
114年 · #131583
114年 - 114 原住民族特種考試_四等_機械工程:機械設計概要#130917
114年 · #130917
114年 - 114 高等考試_三級_機械工程:機械設計#128741
114年 · #128741
114年 - 114 普通考試_機械工程:機械設計概要#128447
114年 · #128447