阿摩線上測驗
登入
首頁
>
機械原理(機械概論、大意)
> 98年 - 098年員級機械原理概要#48059
98年 - 098年員級機械原理概要#48059
科目:
機械原理(機械概論、大意) |
年份:
98年 |
選擇題數:
0 |
申論題數:
9
試卷資訊
所屬科目:
機械原理(機械概論、大意)
選擇題 (0)
申論題 (9)
一、螺旋扣件為何要鎖緊到螺絲本體產生張力?(10 分)此張力要多大較恰當?(5 分) 該張力要如何控制?(5 分)
⑴物體的重量(W)為多少(N)?(5 分)
⑵L'1,L'2及L'3的長度為多少(mm)?(10 分)
⑶由彈簧未變形前的位置算起,物體下降(
δ
)多少(mm)?(5 分)
三、有一以皮帶為傳動裝置,已知線速 10 m/s,傳動馬力 8 Hps(Hps:公制馬力),緊 邊力為鬆邊力的兩倍,試求有效張力 Fe,及緊邊之張力;設本裝置的離心力忽略不 計。(20 分)
⑴何謂平面凸輪?(7 分)
⑵何謂立體凸輪?(7 分)
⑶何謂確動凸輪?(6 分)
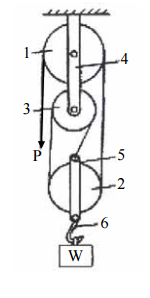
五、一起重滑輪組,如下圖所示,若其懸掛之物體重量 W 為 100 公斤,則拉力 P 應為 多少公斤?(20 分)
相關試卷
115年 - 115 關務特種考試_四等_機械工程(選試英文):機械原理概要#138916
115年 · #138916
114年 - 114 關務特種考試_四等_機械工程(選試英文):機械原理概要#126566
114年 · #126566
113年 - 113-2 國營臺灣鐵路股份有限公司_從業人員甄試試題_第10階-助理技術員:機械原理概要#125611
113年 · #125611
113年 - 113 臺灣菸酒股份有限公司_年從業職員及從業評價職位人員甄試試題_從業評價職位人員:機械概論#123491
113年 · #123491
113年 - 113 中央印製廠新進人員甄試試題_印製技術員:機械概論#123139
113年 · #123139
113年 - 113 關務特種考試_四等_機械工程(選試英文):機械原理概要#119482
113年 · #119482
112年 - 112 中央銀行所屬中央印製廠、中央造幣廠_新進人員聯合甄試試題_印製技術員/機械技術員:機械概論#120212
112年 · #120212
112年 - 112 地方政府特種考試_四等_機械工程:機械原理概要#118123
112年 · #118123
112年 - 112 原住民族特種考試_四等_機械工程:機械原理概要#116511
112年 · #116511
112年 - 112 普通考試_機械工程:機械原理概要#115401
112年 · #115401