阿摩線上測驗
登入
首頁
>
技檢◆陶瓷手拉坯-丙級
>
115年 - 21300 陶瓷手拉坯 丙級 工作項目 02:機具、工具之使用與維護 51-72(2026/01/09 更新)#136672
> 試題詳解
試題詳解
試卷:
115年 - 21300 陶瓷手拉坯 丙級 工作項目 02:機具、工具之使用與維護 51-72(2026/01/09 更新)#136672 |
科目:
技檢◆陶瓷手拉坯-丙級
試卷資訊
試卷名稱:
115年 - 21300 陶瓷手拉坯 丙級 工作項目 02:機具、工具之使用與維護 51-72(2026/01/09 更新)#136672
年份:
115年
科目:
技檢◆陶瓷手拉坯-丙級
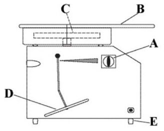
62. 下圖為一部機械式傳動變速的轆轤,關機狀態時,加速踏板 D 應在什麼位置較為適當?
(A)最高速端
(B)靜止的部位
(C)中間處
(D)任何位置皆適當 。
正確答案:
登入後查看