題組內容
四、一矩形斷面之鋼筋混凝土梁如下圖所示,寬度 b=40 cm,深度 h=60 cm, 有效深度 d=53 cm,鋼筋降伏強度
=4200 kgf/cm2,混凝土抗壓強度
=280 kgf/cm2,鋼筋彈性係數
=2.04 × 106 kgf/cm2,配置 3 根 D25 拉力 鋼筋,鋼筋總面積
=15.20 cm2,彎矩強度折減係數 0.9。求此鋼筋混凝 土梁之:
(四)規範上之設計彎矩強度
=?
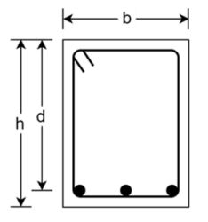
四、一矩形斷面之鋼筋混凝土梁如下圖所示,寬度 b=40 cm,深度 h=60 cm, 有效深度 d=53 cm,鋼筋降伏強度
=4200 kgf/cm2,混凝土抗壓強度
=280 kgf/cm2,鋼筋彈性係數
=2.04 × 106 kgf/cm2,配置 3 根 D25 拉力 鋼筋,鋼筋總面積
=15.20 cm2,彎矩強度折減係數 0.9。求此鋼筋混凝 土梁之:
(四)規範上之設計彎矩強度
=?