阿摩線上測驗 登入

申論題資訊

試卷:110年 - 110 國立臺南女子高級中學自然學科實作評量試題學術性向資賦優異_數理類學生鑑定複選第二階段:自然學科實作評量#100466
科目:高中(學測,指考)◆自然
年份:110年
排序:0

題組內容

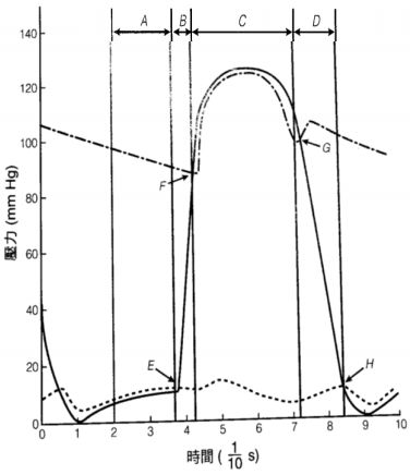
4.右圖顯示一個心搏週期中,心臟及大動脈中血壓的變化。請回答下列問題。
611c631981d54.jpg

申論題內容

(1)圖中所示的血壓是在3個部位紀錄的, 包括:左心房、左心室及主動脈,請 問圖中的3種線條量測結果,紀錄部 位應分別在何處?(3分)
611c62f164110.jpg