阿摩線上測驗
登入
首頁
>
工程力學(包括流體力學與材料力學)
>
100年 - 100 公務升官等考試_薦任_土木工程:工程力學(包括流體力學與材料力學)#27025
> 申論題
題組內容
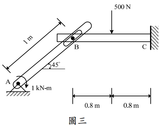
三、如圖三,一懸臂樑與另一桿件 AB 以光滑的滑槽(frictionless pin in slot)連接,桿 件另一端(A 點)為鉸支撐(hinge)。
⑵畫出懸臂樑的剪力與彎矩圖(shear force and bending moment diagrams)。(15 分)
相關申論題
⑴計算此樑斷面的中性軸位置(a =?)。(10 分)
#46648
⑵計算對斷面中性軸的面積慣性矩(area moment of inertia)。(10 分)
#46649
⑶計算此樑斷面的最大張應力(tensile stress)和最大壓應力(compressive stress)。 (10 分)
#46650
⑴計算懸臂樑固定端(fixed)C 點的反力。(15 分)
#46651
五、如下圖所示,此樑於 c 點承受一集中載重,試求所有的支承反力,以及樑之位移與傾角與座標軸 x 的函數關係。假設楊氏模數 E = 200 GPa,矩 形截面積,樑寬 20 cm,樑深 30 cm。(20 分)
#555950
四、剛體均質薄板 ABCD(500 mm✖200 mm)如下圖所示,質量 9 kg。AE 與 DF 為剛體桿件(可忽略質量),桿長均為 150 mm,均以鉸接方式與 薄板和支承結合。當繩索 BH 被切斷的瞬間,試求薄板之加速度和 AE 與 DF 桿件之內力。假設重力加速度向下 g = 9.81 m/s2。(20 分)
#555949
三、如下圖所示,鉸支承 A 點與鉸支承 E 點之高程差為 6 m,由四段可忽略自重的纜索連接起來,B、C、D 為鉸接,已知 C 點低於 A 點,高程差為 1.5 m,試求 B 點與 A 點的高程差,D 點與 A 點的高程差,以及纜索中的最大斜率和最大張力。 (20 分)
#555948
二、試求下圖矩形閘門 de 上的靜流體合力之大小、方向和作用點,假設此閘門突出紙面之寬度為 1 m,液體 A 和液體 B 的密度分別為 1125 和 1320 kg/m3, 重力加速度向下 g=9.81 m/s2。bc 點高程差 1.8 m,cd 點高程差 1.2 m,de 點 高程差 2 m,ef 點高程差 2 m。(20 分)
#555947
一、在平面應變之假設下,一應變元素如下圖正方形所示,其在 x-y 座標系之應變值為 εxx = 0.00032,εyy = 0.00012,γxy = 0.00017,剪應力為 τxy = Gγxy,G 為剪力模數,試求此元素之主應變及其主軸座標方向,以及最大和最小剪應變及其方向,請繪製相應之應變元素圖以明確表示。(20 分)
#555946
四、有一連續梁 ABCDE 如下圖所示,A 點為固定端,B 點為鉸支承,C 點為鉸接,D 點為滾支承。此梁於 C 點受到一集中載重 P,如梁斷面彎矩勁度為 EI,求 A、B 及 D 點之反力(可包括彎矩)。並計算 C 點之位移、D 點之轉角及 E 點之位移。請註明反力、位移及轉角之方向。(25 分)提示: a + b =L
#529566
相關試卷
114年 - 114 公務升官等考試_薦任_土木工程:工程力學(包括流體力學與材料力學)#133245
114年 · #133245
113年 - 113 地方政府公務特種考試_三等_土木工程:材料力學#124539
113年 · #124539
112年 - 112 公務升官等考試_薦任_土木工程:工程力學(包括流體力學與材料力學)#117162
112年 · #117162
112年 - 112 原住民族特種考試_三等_土木工程:工程力學(包括流體力學與材料力學)#116539
112年 · #116539
111年 - 111 原住民族特種考試_三等_土木工程:工程力學(包括流體力學與材料力學)#110630
111年 · #110630
110年 - 110 公務升官等考試_薦任_土木工程、結構工程:工程力學(包括流體力學與材料力學)#103690
110年 · #103690
110年 - 110 原住民族特種考試_三等_土木工程:工程力學(包括流體力學與材料力學)#101004
110年 · #101004
109年 - 109 原住民族特種考試_三等_土木工程:工程力學(包括流體力學與材料力學)#90831
109年 · #90831
108年 - 108 公務人員升官等公務薦任_土木工程:工程力學(包括流體力學與材料力學)#80522
108年 · #80522
108年 - 108 特種考試原住民族三等 工程力學(包括流體力學與材料力學)#79058
108年 · #79058