阿摩線上測驗
登入
首頁
>
機械設計
>
100年 - 100 鐵路特種考試_高員三級_機械工程:機械設計#33949
> 申論題
題組內容
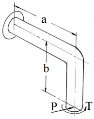
一、如圖的懸臂實心圓桿,直徑為 35 mm,長度a=0.6 m及b=0.4 m,端點受到集中負荷P =1000 N及扭力TT=300 N-m。圓桿材料的降伏強度(yielding strength)為 350 MPa。試 問:
⑵關鍵處的最大主應力(principal stress)σ
1
,σ
2
及σ
3
?(9 分)
相關申論題
⑴應力關鍵處(critical point)的彎曲力矩(bending moment)?(8 分)
#85226
⑶用最大剪應力理論(maximum shear stress theory),求解在關鍵處的安全因素 (factor of safety)?(8 分)
#85228
⑴變動應力的中間值(mean stress)及應力幅度(stress amplitude)?(5 分)
#85229
⑵疲勞應力集中因子(fatigue stress concentration factor)?(5 分)
#85230
⑶修正疲勞限(modified endurance limit)?(5 分)
#85231
⑷應用古德曼法(Goodman criterion)求解安全因素(factor of safety)?(10 分)
#85232
⑶以安全因素為 3 的設計,將該單葉片彈簧分割成 10 片,試問每片的寬度?(10 分)
#85235
⑷試問葉片彈簧受力端的位移量?(5 分)
#85236
⑴作用於制動帶驅動力(actuating force)及支撐點反應力(pin reaction force)? (10 分)
#85237
⑵制動扭力(braking torque)?(7 分)
#85238
相關試卷
115年 - 115 身心障礙特種考試_四等_機械工程:機械設計概要#138890
115年 · #138890
115年 - 115 身心障礙特種考試_三等_機械工程:機械設計#138882
115年 · #138882
114年 - 114 地方政府公務特種考試_三等_機械工程:機械設計#134728
114年 · #134728
114年 - 114 地方政府公務特種考試_四等_機械工程:機械設計概要#134719
114年 · #134719
114年 - 114 公務、關務升官等考試_薦任_機械工程、技術類(選試機械設計)-關務:機械設計#133265
114年 · #133265
114年 - 114 交通事業港務升資考試_員級晉高員級_技術類(選試機械設計)-港務:機械設計#133244
114年 · #133244
114年 - 114 高等考試_二級_機械工程:機械設計學#131583
114年 · #131583
114年 - 114 原住民族特種考試_四等_機械工程:機械設計概要#130917
114年 · #130917
114年 - 114 高等考試_三級_機械工程:機械設計#128741
114年 · #128741
114年 - 114 普通考試_機械工程:機械設計概要#128447
114年 · #128447