阿摩線上測驗
登入
首頁
>
船用電機與自動控制(概要)
> 100年 - 100年第四次專技普考船用電機與自動控制概要#45363
100年 - 100年第四次專技普考船用電機與自動控制概要#45363
科目:
船用電機與自動控制(概要) |
年份:
100年 |
選擇題數:
40 |
申論題數:
0
試卷資訊
所屬科目:
船用電機與自動控制(概要)
選擇題 (40)
1.變壓器中,一次線圈與二次線圈之電流I與匝數N之關係,下列何者正確?
2.若三相同步發電機之每相功率輸出為P,則此機之總輸出功率為何? (A)√2P (B)2 P (C)√3P(D)3 P
3.若電晶體僅工作於截止區及飽和區時,此時之電晶體如同: (A)電子開關 (B)可變電阻 (C)可變電容 (D)線性放大器
4.運算放大電路(Operational amplifier)之虛接地特性(Virtual ground)是依據下列何種特性? (A)開路增益無限大 (B)輸出阻抗為零 (C)頻寬無限大 (D)輸入阻抗無限大
5.以下何種元件能導通較高的電流? (A)SCR (B)功率電晶體 (C)GTO (D)TRIAC
6.如圖為電子元件常用圖符,試問“稽納二極體(Zener diodes)”為那個?
(A)第5個 (B)第4個 (C)第2個 (D)第1個
7. NOR邏輯: =?
8.使用差壓式轉換器(Differential pressure transmitter)作油櫃之油位量測,其油櫃出口與儀器輸 入端之間常裝設分離器,其用途為何? (A)提供油水分離之空間 (B)隔離儀錶避免受油污染 (C)提供補充壓力之儲存空間 (D)提供疏水之儲存空間
9.如圖為海水溫度PID控制器,試問“偏差值”應是那一個標記?
(A)02 (B)03 (C)04 (D)05
10.船舶電機設備應於搖擺或傾斜時仍能穩定運作,此 “動態” 搖擺或傾斜工況的容許範圍為何? (A)橫向45°,艏艉向15° (B)橫向22.5°,艏艉向7.5° (C)橫向15°,艏艉向5° (D)橫向10.5°,艏艉向3.5°
11.現代商船AC電力系統主配電盤中之 “統合控制器(Unicontroller)” 包含下列那些裝置?①機 器啟動裝置 ②各類保護繼電器 ③自動及校正整步裝置 ④自動負載分配器 ⑤岸電饋給裝置 (A)①②③④ (B)②③④⑤ (C)①③④⑤ (D)①②④⑤
12.船舶440 V三相60 Hz自動主配電盤中,自動整步器(Automatic synchronizer)對新進匯流排機 組進行並聯調整;其主要的調整參數為何? (A)電流、電壓、頻率 (B)電壓、頻率、相位 (C)頻率、相位、電流 (D)相位、電流、電壓
13.國際航線的客輪,緊急發電機連續供電時間至少為多少小時? (A)12 (B)24 (C)36 (D)48
14.主機操俥位置在駕駛台,若將俥鐘桿由正俥全速直接移至倒俥的某速時,主啟動閥何時開啟: (A)俥鐘桿移至倒俥定位時 (B)俥鐘桿移經停俥位置時 (C)當俥鐘桿移至倒俥且轉速降至煞俥轉速時 (D)當俥鐘桿移至倒俥且轉速降至可換向轉速時
15.在主機電/氣遙控系統中用的調速器是電子調速器,若調速器的電源中斷則其輸出是: (A)主機最低穩定轉速相對應的供油量 (B)供油量為零 (C)供油量不變 (D)主機額定轉速相對應的供油量
16.在操作台,通過操作舵輪來操縱舵機糾正航向的,叫做什麼操舵系統? (A)單動操舵 (B)隨動操舵 (C)自動操舵 (D)太平舵
17.在警報系統中,所謂通常故障是指: (A)警報之故障不能自行消除 (B)警報之故障能自行消除 (C)模擬量故障警報 (D)開關量故障警報
18.短時故障對於長時故障之主要區別在於: (A)故障警報延時之時間短 (B)不必按「確認鈕」,紅燈就會自動變暗,以及自動消聲 (C)按「確認鈕」前,故障已消失 (D)只發燈光警報,不發聲響警報
19.在警報裝置中,設置延時警報的目的在於: (A)防止誤警報 (B)增強抗干擾能力 (C)實現封鎖警報 (D)實現失職警報
20.在船舶中,氧含量檢測器通常是用於檢測: (A)檢測主機排煙 (B)輔鍋爐排煙 (C)機艙中的空氣 (D)油輪油貨艙封艙氣體
21.交流電動機之啟動必須加以Y-Δ切換控制的主要原因為何? (A)輸入電壓太小 (B)啟動電流太大 (C)電樞電阻太大 (D)啟動轉矩太大
22.在現代化船舶上,駕駛台之主操舵系統應裝置有下列何項裝置? (A)自動、手動及緊急舵板固定操舵系統 (B)自動操舵系統,手動操舵系統,緊急操舵系統 (C)自動操舵系統,緊急操舵系統 (D)手動、緊急及舵板固定操舵系統
23.空氣壓縮機的自動啟停控制線路中,使用組合式高低壓壓力開關的目的為何? (A)使空壓機在設定的高壓值時停止,在設定的低壓值時啟動 (B)使空壓機在設定的高壓值時啟動,在設定的低壓值時啟動 (C)使空壓機在設定的高壓值時停止,在設定的低壓值時停止 (D)使空壓機在設定的高壓值時啟動,在設定的低壓值時停止
24.在鍋爐水位控制系統中,其受控對象(Controlled process)為: (A)鍋爐 (B)給水泵 (C)給水控制閥 (D)熱水井
25. 如圖若“E”為直流100V,“Res.”為10Ω,“Con.”為10μF;試問當開關“S”按下成通路且 待穩定後“Amp.”電流應為多少?
(A)10A (B)7.07A (C)5A (D)0A
26. 有一二進制數10001000(2) ,它所對應的十進制數為: (A)88 (B)136 (C)144 (D)152
27.某輪450V AC三相60Hz全自動配電盤,配有“整步指示燈裝置”其接線原理如圖所示。若當第2 號發電機進行自動配電時,顯示“3燈輪流明滅”,試問其意為何?
(A)2號機組之相序、電壓與匯流排相同,但頻率稍異 (B)2號機組之電壓、頻率與匯流排相同,但相位則一致 (C)2號機組之頻率、電壓與匯流排相同,但相序稍異 (D)2號機組之電壓、相序稍異於匯流排,但頻率相等
28.目前船上柴油交流發電機均裝有調速器(Governor),其主要目的是: (A)將運轉中的電機,在供電系統中能保持固定的負荷及固定的頻率 (B)將運轉中的電機,在供電系統中能提供負荷變化及不同的頻率 (C)將運轉中的電機,在供電系統中能提供固定的負荷及不同的頻率 (D)將運轉中的電機,在供電系統中能提供負荷的變化及固定的頻率
29.主機慢轉啟動(Slow turning)的主要原因是由於: (A)負荷太大 (B)啟動空氣壓力太低 (C)滑油壓力低 (D)主機備便(Stand-by)中,重新建立軸承油膜
30. 在主機遙控系統的轉速控制中,若設定轉速不變,當外界負荷變化時,則主機轉速與調速器的油 門開度變化是: (A)轉速不變,油門開度不變 (B)轉速不變,油門開度改變 (C)轉速改變,油門開度不變 (D)轉速改變,油門開度改變
31.主機遙控系統中,在啟動主機時送至調速器的信號是: (A)俥鐘桿設定的轉速 (B)發火轉速 (C)最低穩定轉速 (D)啟動轉速
32.主機遙控系統中,在下列何種情形下,主機將自動減速? (A)主機運轉中,發生超速運轉 (B)主機全速運轉中,掃氣室起火 (C)主機運轉中,發生主軸承滑油壓力過低 (D)主機運轉中,發生推力軸承溫度過高
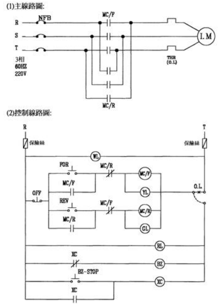
33.如控制線路圖,先按FOR,後按REV之啟動按鈕,有何結果? 鼠籠式三相感應電動機正逆轉控制線路圖
(A)馬達先逆轉,後正轉 (B)造成短路故障,OL跳脫 (C)馬達由逆轉啟動,而後又停止 (D)馬達依FOR方向運轉,後按REV無作用
34.在金屬應變片式壓力檢測器中,隨著測量壓力之增大,金屬應變片的長度及電阻如何變化? (A)長度伸長,電阻增大 (B)長度伸長,電阻減少 (C)長度縮短,電阻增大 (D)長度縮短,電阻減少
35.下列何種單相交流電動機之起動轉矩最大? (A)推斥起動電動機 (B)蔽極電動機 (C)裂相起動電動機 (D)電容器起動電動機
36.1 KVA、100 V之單相變壓器,其負載電流之最大值為何? (A)10 A (B)50 A (C)100 A (D)150 A
37.面對階梯型輸入訊號(Step input),系統反應的上升時間(Rise time)顯示其何種特性? (A)反應速度 (B)穩定性 (C)準確度 (D)精密度
38.依據克希荷夫定理,三個電阻並聯的等效電阻R的計算公式為下列何者? (A)R = (R
1
×R
2
×R
3
)/(R
1
+R
2
+R
3
) (B)R = 1/R
1
+1/R
2
+1/R
3
(C)R = R
1
+R
2
+R
3
(D)R = 1/(1/R
1
+1/R
2
+1/R
3
)
39.串聯電容的總電容量等於下列何者? (A)各分電容量和 (B)各分電容量倒數和 (C)各分電容量和的倒數 (D)各分電容量倒數和的倒數
40.船舶用電高峰時,可能引起電機過載,在備用電機投入運轉前,為確保電路網系能連續供電,自 動卸載裝置應能自動將下列那項設備移除? (A)大功率的 (B)任一部分的 (C)次要的 (D)功率因數低的
申論題 (0)
相關試卷
115年 - 115年第一次航海人員測驗【602】二等管輪【000022】船用電機與自動控制概要#138328
115年 · #138328
115年 - 115-1 航海人員測驗 _ 一等管輪:船用電機與自動控制#137837
115年 · #137837
114年 - 114-4 航海人員測驗_二等管輪:船用電機與自動控制概要#133727
114年 · #133727
114年 - 114-4 航海人員測驗 _ 一等管輪:船用電機與自動控制#133524
114年 · #133524
114年 - 114-3 航海人員測驗_一等管輪:船用電機與自動控制概要#130590
114年 · #130590
114年 - 114-3 航海人員測驗_二等管輪:船用電機與自動控制概要#130417
114年 · #130417
114年 - 114 海岸巡防特種考試_三等_海洋巡護科輪機組:船用電機與自動控制#129555
114年 · #129555
114年 - [無官方正解]114-2 航海人員測驗_二等管輪:船用電機與自動控制概要#128256
114年 · #128256
114年 - 114-2 航海人員測驗_一等管輪:船用電機與自動控制#127546
114年 · #127546
114年 - 114-1 航海人員測驗_二等管輪:船用電機與自動控制概要#125848
114年 · #125848